授权公布号:CN108723450B
修边机升降调节机构及其升降调节方法
有效
申请
2018-05-17
申请公布
2018-11-02
授权
2023-12-15
预估到期
2038-05-17
| 申请号 | CN201810471755.8 |
| 申请日 | 2018-05-17 |
| 申请公布号 | CN108723450A |
| 申请公布日 | 2018-11-02 |
| 授权公布号 | CN108723450B |
| 授权公告日 | 2023-12-15 |
| 分类号 | B23C3/28;B23C9/00;B23Q15/22 |
| 分类 | 机床;不包含在其他类目中的金属加工; |
| 申请人名称 | 浙江精力工具有限公司 |
| 申请人地址 | 浙江省金华市武义县泉溪镇金岩山工业功能区 |
专利法律状态
2023-12-15
授权
状态信息
授权
2019-05-07
实质审查的生效
状态信息
实质审查的生效;IPC(主分类):B23C3/28;申请日:20180517
2018-11-02
公布
状态信息
公布
摘要
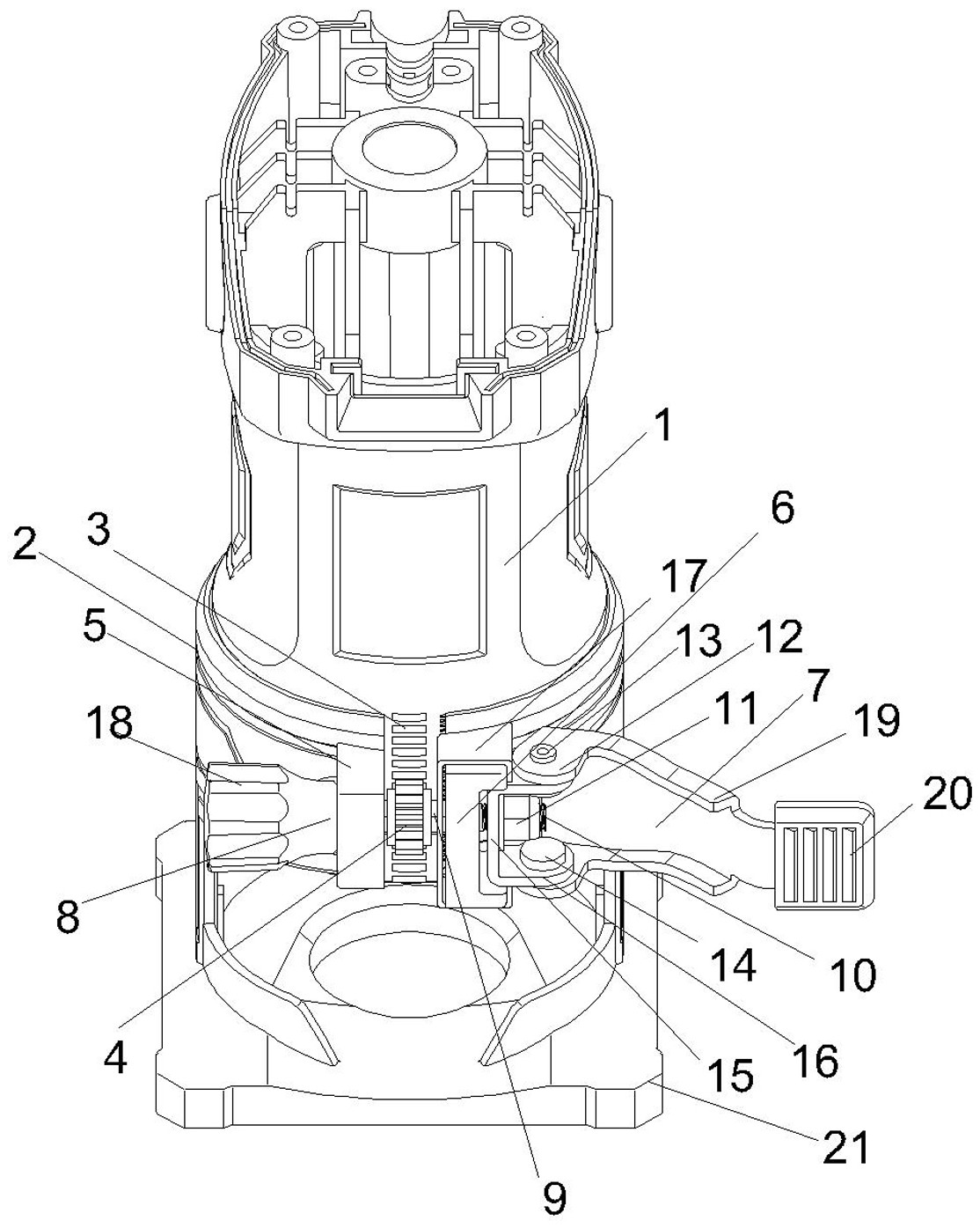
本发明公开了一种修边机升降调节机构,包括机壳和防护罩结构,防护罩结构包括带开口的防护罩和位于防护罩开口处的锁紧结构,防护罩的开口处设有两个带孔锁紧凸耳,两个带孔锁紧凸耳分别为调节侧带孔锁紧凸耳和锁紧侧带孔锁紧凸耳,锁紧结构包括锁紧螺杆、锁紧扳手、防松螺母和扳手铰接座,锁紧螺杆的前端穿过两个带孔锁紧凸耳后与防松螺母连接,锁紧扳手前端设有配合锁紧侧带孔锁紧凸耳的锁紧凸轮,锁紧螺杆中部设有调节齿轮,机壳上设有配合调节齿轮的带刻度直齿。本发明不会出现在工作中防护罩移位的情况;松开锁紧扳手的凸轮结构时,操作者可以通过转动调节齿轮配合带刻度直齿带动机壳升降和控制升降高度,确保工件铣槽深度微调精确可靠。


