授权公布号:CN114285201B
一种无刷电机外转子结构及其表面处理方法
有效
申请
2021-12-03
申请公布
2022-04-05
授权
2023-01-10
预估到期
2041-12-03
| 申请号 | CN202111473179.9 |
| 申请日 | 2021-12-03 |
| 申请公布号 | CN114285201A |
| 申请公布日 | 2022-04-05 |
| 授权公布号 | CN114285201B |
| 授权公告日 | 2023-01-10 |
| 分类号 | H02K1/2791;H02K1/28;C09K5/06;H02K15/03 |
| 分类 | 发电、变电或配电; |
| 申请人名称 | 浙江中力工具制造有限公司 |
| 申请人地址 | 浙江省丽水市缙云县壶镇镇安居西路106号 |
专利法律状态
2023-01-10
授权
状态信息
授权
2022-04-05
公布
状态信息
公布
摘要
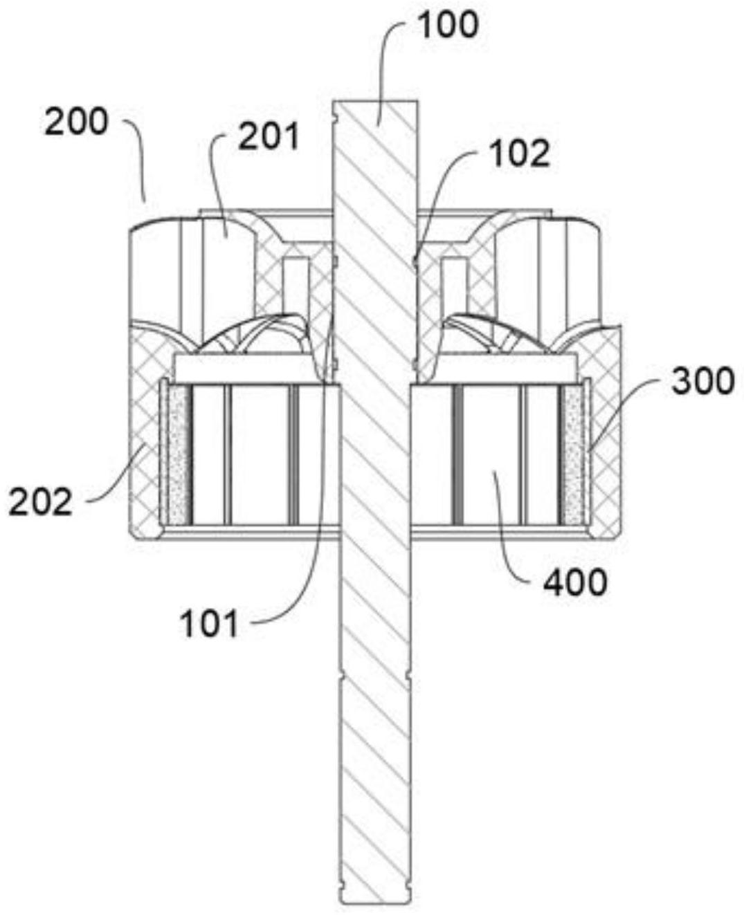
本发明属于无刷电机领域,尤其涉及一种无刷电机外转子结构及其表面处理方法。其包括:转子轴、叶轮和磁动结构;所述叶轮套设在转子轴上,且叶轮和转子轴套接处设有防滑结构;所述防滑结构包括径向防滑结构和轴向防滑结构;所述叶轮包括风叶以及沿转子轴轴向方向延伸形成的套筒;所述磁动结构包括磁轭和磁瓦;所述磁轭设有用于装配磁瓦的卡槽,且磁轭固设在套筒内;所述磁轭为环状结构并与套筒内壁防滑配合。本发明通过合理化的结构设计,使得整体外转子结构的装配难度大幅度下降,在确保整体结构稳定性的同时能够有效提高叶轮、转子轴和磁轭等结构的同心度,同时对其叶轮、转子轴和磁轭等部件的材质进行合理调整改进。


