授权公布号:CN214676635U
一种用于摘果机的摆动幅度调节结构
有效
申请
2021-02-08
申请公布
1970-01-01
授权
2021-11-12
预估到期
2031-02-08
| 申请号 | CN202120365401.2 |
| 申请日 | 2021-02-08 |
| 授权公布号 | CN214676635U |
| 授权公告日 | 2021-11-12 |
| 分类号 | A01D46/24 |
| 分类 | 农业;林业;畜牧业;狩猎;诱捕;捕鱼; |
| 申请人名称 | 浙江中力工具制造有限公司 |
| 申请人地址 | 浙江省丽水市缙云县壶镇镇安居西路106号 |
专利法律状态
2021-11-12
授权
状态信息
授权
摘要
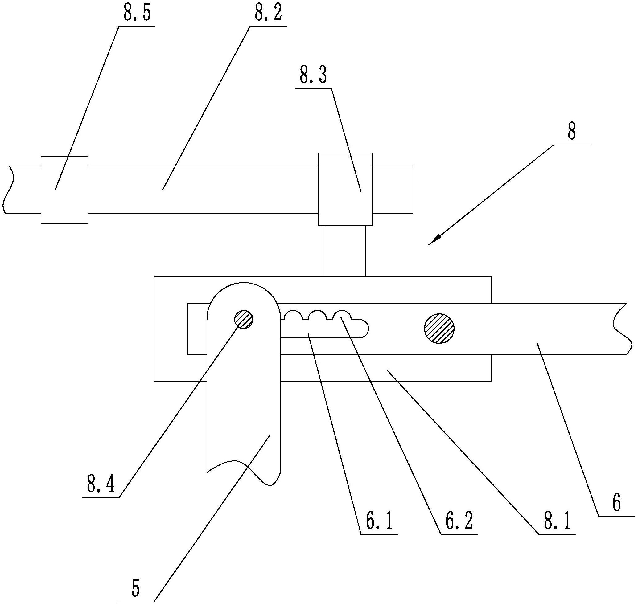
本实用新型公开了一种用于摘果机的摆动幅度调节结构,包括连杆、摆动架、摆杆和调节机构,调节机构包括调节架、调节丝杆和调节螺母,调节架与固定架滑动连接,调节螺母与调节架固定,调节丝杆与固定架转动连接,调节螺母与调节丝杆适配,调节螺母套设在调节丝杆上,摆动架与调节架铰接,摆杆的一端固定在摆动架上,摆动架上设有长槽,长槽内设有滑轴,滑轴通过夹紧螺母夹紧在摆动架上,连杆的一端与滑轴转动连接。本实用新型提供了一种用于摘果机的摆动幅度调节结构,可以实现对摘果机摆动杆摆动幅度的调节,使摘果机的摆杆可以根据不同果类的特点设置摆动幅度。


