授权公布号:CN218494286U
一种可调节压力的机油安全限压阀
有效
申请
2022-08-12
申请公布
1970-01-01
授权
2023-02-17
预估到期
2032-08-12
| 申请号 | CN202222129267.3 |
| 申请日 | 2022-08-12 |
| 授权公布号 | CN218494286U |
| 授权公告日 | 2023-02-17 |
| 分类号 | F16K17/06;F16N23/00;F16N39/06 |
| 分类 | 工程元件或部件;为产生和保持机器或设备的有效运行的一般措施;一般绝热; |
| 申请人名称 | 浙江派尼尔科技股份有限公司 |
| 申请人地址 | 浙江省金华市婺城区工业园区神丽路1217号1#、2#厂房 |
专利法律状态
2023-02-17
授权
状态信息
授权
摘要
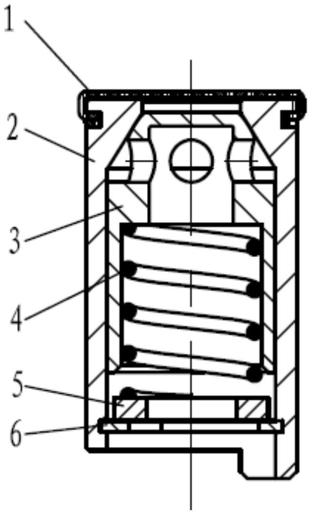
本实用新型公开了一种可调节压力的机油安全限压阀,包括滤网、阀体、阀芯、压缩弹簧、弹性挡圈,所述滤网旋铆固定在阀体顶端,所述阀芯内置在阀体内,所述阀体的底端卡扣连接有弹性挡圈,所述阀体内、且位于弹性挡圈与阀芯之间还放置有调整垫圈,所述压缩弹簧放置于阀体内,所述压缩弹簧一端抵触在阀芯上、另一端则抵触在调整垫圈上,所述阀体内侧顶端还设有密封锥面,所述阀芯顶端为球面;本实用新型具有可调节压力、球面线密封、带过滤、匹配性好、结构简单的特点。


