授权公布号:CN212614519U
一种桩基滑块式扩孔钻具
有效
申请
2020-07-16
申请公布
1970-01-01
授权
2021-02-26
预估到期
2030-07-16
| 申请号 | CN202021407679.3 |
| 申请日 | 2020-07-16 |
| 授权公布号 | CN212614519U |
| 授权公告日 | 2021-02-26 |
| 分类号 | E21B10/32;E21B10/54;E21B10/60 |
| 分类 | 土层或岩石的钻进;采矿; |
| 申请人名称 | 长沙天和钻具机械有限公司 |
| 申请人地址 | 湖南省长沙市宁乡金洲新区姚家坡路018号 |
专利法律状态
2021-02-26
授权
状态信息
授权
摘要
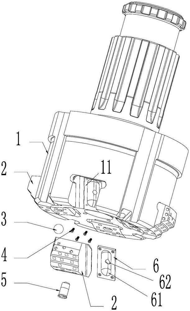
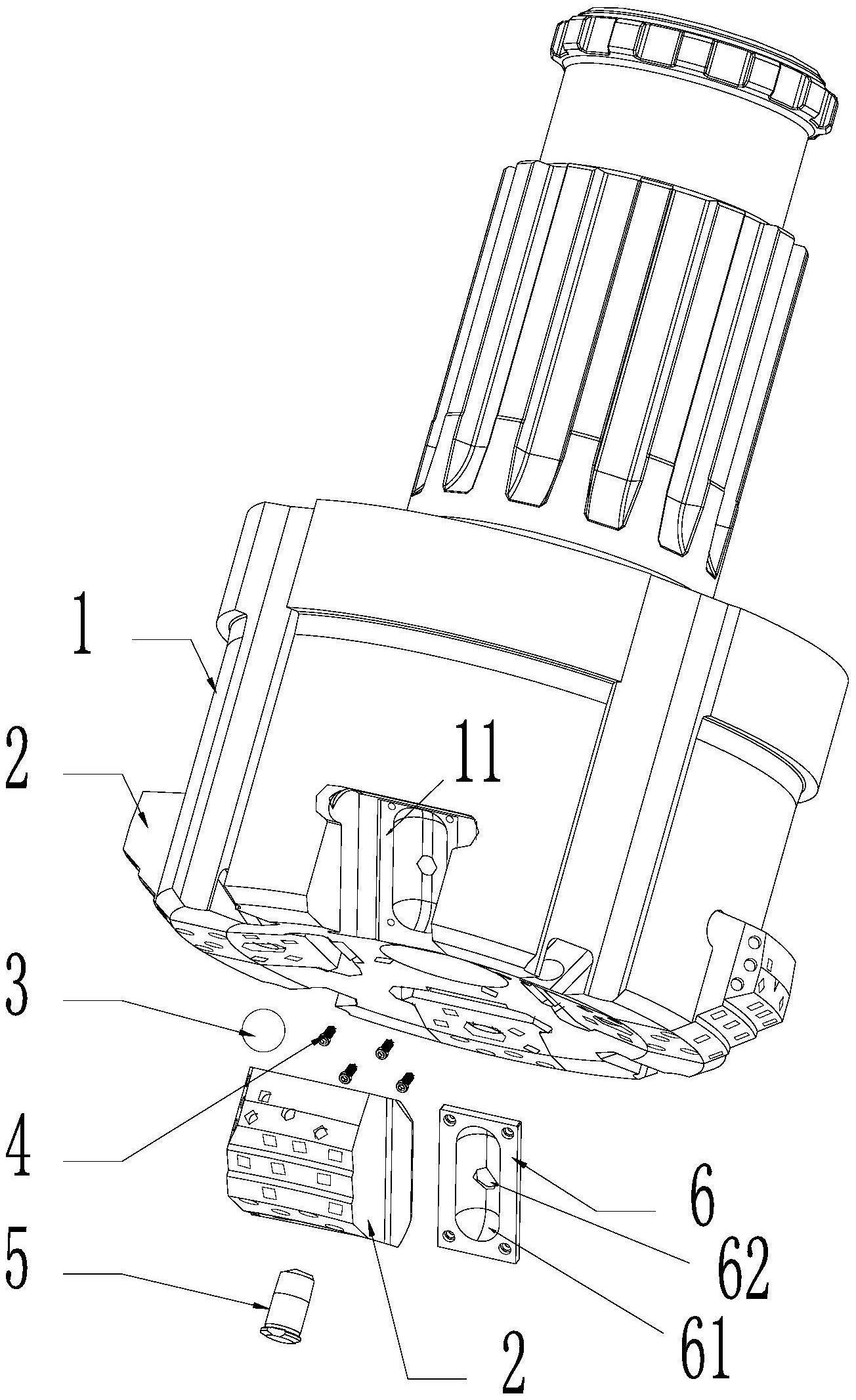
一种桩基滑块式扩孔钻具,包括滑块钻头和滑块,所述滑块钻头头端上设有沿径向布设的、与滑块大小相匹配的、以旋转中心为中心对称布设的多条滑块槽,所述滑块槽的底部设有耐磨板安装槽,所述耐磨板安装槽内固定有耐磨板,所述耐磨板安装在滑块槽内后,所述耐磨板不凸出滑块槽底部,所述耐磨板上设有沿滑块槽长度方向布设的滚珠槽,所述滑块上设有销孔将顶面和底面连通,所述滑块安装在所述滑块槽内,并且通过安装在滚珠槽和销孔之间的滚珠实现滑块在滑块槽内的滑动,所述滚珠通过固定在销孔内的锁紧销限位在滑块槽内。本装置结构简单、加工方便、通过耐磨板提高耐磨性、通过更换耐磨板提高钻头使用寿命,节省施工成本、减少了由于滑块脱落造成的打捞时间。


