授权公布号:CN218776462U
三维齿轮测量中心大规格零件定心装夹装置
有效
申请
2022-11-08
申请公布
1970-01-01
授权
2023-03-31
预估到期
2032-11-08
| 申请号 | CN202222969373.2 |
| 申请日 | 2022-11-08 |
| 授权公布号 | CN218776462U |
| 授权公告日 | 2023-03-31 |
| 分类号 | B25B11/00 |
| 分类 | 手动工具;轻便机动工具;手动器械的手柄;车间设备;机械手; |
| 申请人名称 | 通用技术集团哈尔滨量具刃具有限责任公司 |
| 申请人地址 | 黑龙江省哈尔滨市香坊区和平路44号 |
专利法律状态
2023-03-31
授权
状态信息
授权
摘要
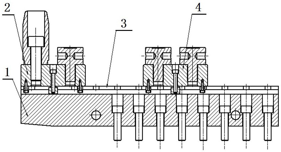
一种三维齿轮测量中心大规格零件定心装夹装置。现有技术无大规格零件定心装夹机构,普通装夹方式无法满足需求,且装夹普通零件的夹具承载能力较弱。本实用新型组成包括:定心装夹装置(15),定心装夹装置包括支臂(1),支臂上方通过一组螺钉与T型槽条(3)连接,T型槽条的凹槽内分别安装有T型螺母A(7)、T型螺母B(12),T型螺母A通过螺钉与支撑对心组件(2)连接,支撑对心组件包括滑块(5),滑块底部通过螺钉与导向销A(9)连接,滑块上部一侧通过螺钉与定心销(8)连接,其另一侧通过螺纹与支撑销A(6)连接,T型螺母B通过螺钉与滑块B(10)连接。本实用新型用于三维齿轮测量中心大规格零件定心装夹装置。


