授权公布号:CN220145854U
一种可伸缩的枪嘴组件以及射钉枪
有效
申请
2023-03-30
申请公布
1970-01-01
授权
2023-12-08
预估到期
2033-03-30
| 申请号 | CN202321049013.9 |
| 申请日 | 2023-03-30 |
| 授权公布号 | CN220145854U |
| 授权公告日 | 2023-12-08 |
| 分类号 | B25C1/00 |
| 分类 | 手动工具;轻便机动工具;手动器械的手柄;车间设备;机械手; |
| 申请人名称 | 台州市大江实业有限公司 |
| 申请人地址 | 浙江省台州市温岭市工业城机电园区 |
专利法律状态
2023-12-08
授权
状态信息
授权
摘要
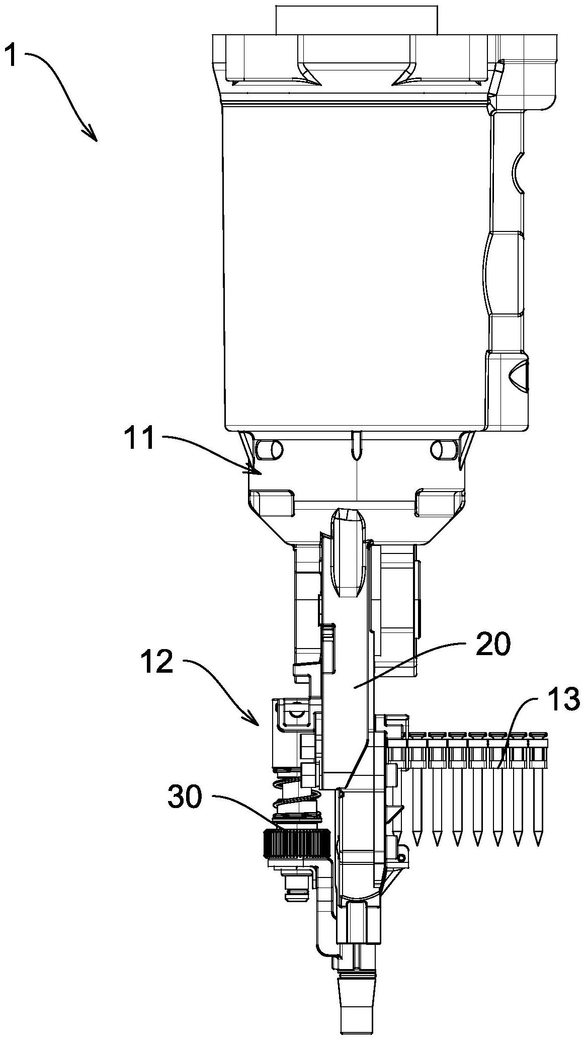
本实用新型涉及一种建筑装修工具,具体涉及一种可伸缩的枪嘴组件以及射钉枪;一种可伸缩的枪嘴组件,具有这样的特征,包括:枪嘴;以及滑套组件,安装在枪嘴上,该滑套组件具有:滑套部件,其一端突出于枪嘴的前端;以及调节部件,用于调节滑套部件突出于枪嘴的长度;因为滑套部件和调节部件的设置,实现调节滑套部件突出于枪嘴部件的长度,打钉过程中,枪嘴的前端距离被紧固对象越远,枪钉插入越浅,枪嘴的前端距离被紧固对象越近,枪钉插入越深,进而实现了调节射钉枪打钉时的穿透深度,进而实现了一把射钉枪适应不同硬度的被紧固对象。


