授权公布号:CN218313236U
一种方便握持的手动扭矩扳手
有效
申请
2022-08-31
申请公布
1970-01-01
授权
2023-01-17
预估到期
2032-08-31
| 申请号 | CN202222300655.3 |
| 申请日 | 2022-08-31 |
| 授权公布号 | CN218313236U |
| 授权公告日 | 2023-01-17 |
| 分类号 | B25B23/00;B25B23/16 |
| 分类 | 手动工具;轻便机动工具;手动器械的手柄;车间设备;机械手; |
| 申请人名称 | 诺霸精密机械(上海)有限公司 |
| 申请人地址 | 上海市浦东新区自由贸易试验区美桂北路317号三层E部位 |
专利法律状态
2023-01-17
授权
状态信息
授权
摘要
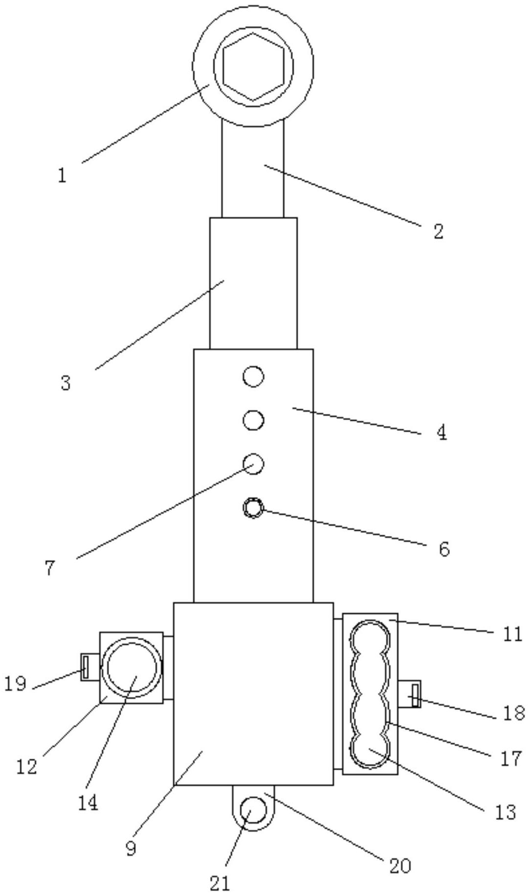
本实用新型属于扭矩扳手领域,具体公开了一种方便握持的手动扭矩扳手,包括扭矩头、连接杆、伸缩结构和手持部;所述连接杆一端底面固定连接有扭矩头,连接杆另一端与伸缩结构连接,所述伸缩结构另一端与手持部固定连接,所述手持部包括固定杆、保护套、第一卡板和第二卡板;所述固定杆外侧套设固定有保护套,所述保护套两侧对称开设有槽口,两所述槽口内部分别设置有第一卡板和第二卡板,所述第一卡板和第二卡板与槽口尺寸匹配,且第一卡板和第二卡板与槽口滑动连接,所述第一卡板表面开设有第一通孔,所述第二卡板表面开设有第二通孔,所述第一通孔和第二通孔内壁都粘结固定有硅胶垫。


