授权公布号:CN218937635U
一种扭矩传感器固定检测装置
有效
申请
2022-11-03
申请公布
1970-01-01
授权
2023-04-28
预估到期
2032-11-03
| 申请号 | CN202222928222.2 |
| 申请日 | 2022-11-03 |
| 授权公布号 | CN218937635U |
| 授权公告日 | 2023-04-28 |
| 分类号 | G01L25/00 |
| 分类 | 测量;测试; |
| 申请人名称 | 诺霸精密机械(上海)有限公司 |
| 申请人地址 | 上海市浦东新区自由贸易试验区美桂北路317号三层E部位 |
专利法律状态
2023-04-28
授权
状态信息
授权
摘要
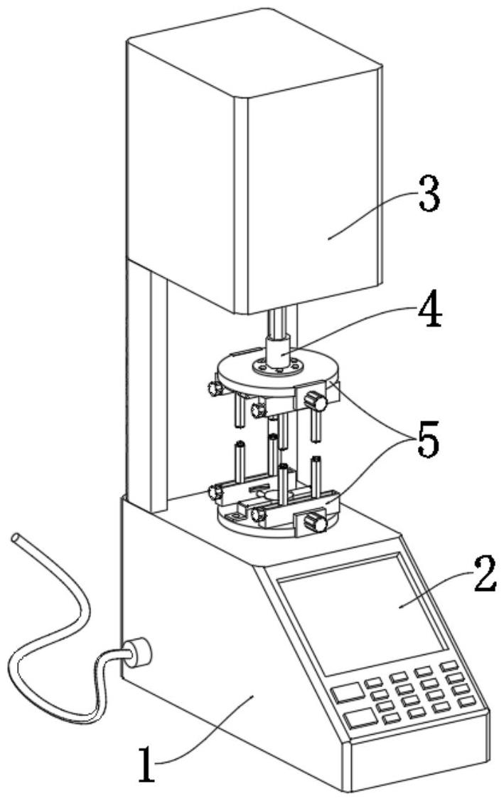
本实用新型涉及扭矩传感器测量装置技术领域,尤其涉及一种扭矩传感器固定检测装置,包括扭力检测仪,所述扭力检测仪正面设置有显示面板,所述扭力检测仪顶端连接有顶架,所述顶架底端通过下拉件连接有固定件,所述固定件设置有两个,两个所述固定件上下对称设置,下方一个所述固定件底端通过转轴与扭力检测仪内置驱动装置相连接固定。本实用新型通过对向螺纹调节轴转动控制两个滑块相对移动,使滑块下方连接的压杆同步移动,降低相邻两个压杆之间调节的偏差值,保证相邻两个压杆对扭矩传感器固定时的挤压力度,避免单边受力过大,影响对扭矩传感器的扭矩测试,一定程度上降低了因受力不均造成的偏差,提高扭矩传感器测量的精准度。


