授权公布号:CN218639605U
一种调节式扭矩检测车
有效
申请
2022-10-27
申请公布
1970-01-01
授权
2023-03-17
预估到期
2032-10-27
| 申请号 | CN202222847913.X |
| 申请日 | 2022-10-27 |
| 授权公布号 | CN218639605U |
| 授权公告日 | 2023-03-17 |
| 分类号 | B25H1/16;B25H1/08;G01L3/00;G01L25/00 |
| 分类 | 手动工具;轻便机动工具;手动器械的手柄;车间设备;机械手; |
| 申请人名称 | 诺霸精密机械(上海)有限公司 |
| 申请人地址 | 上海市浦东新区自由贸易试验区美桂北路317号三层E部位 |
专利法律状态
2023-03-17
授权
状态信息
授权
摘要
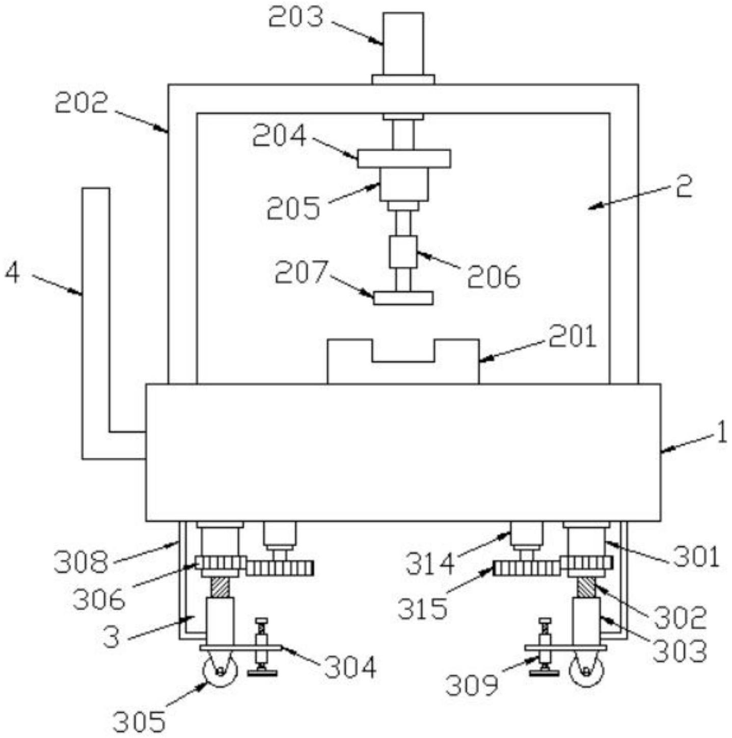
本实用新型属于扭矩检测技术领域,具体公开了一种调节式扭矩检测车,包括检测台,检测台的顶部设置有扭矩检测设备,检测台的底部设置有移动调节机构,移动调节机构包括内螺纹筒,内螺纹筒的顶端与检测台底部连接,内螺纹筒的内部安装有螺杆,螺杆的底端固接有升降杆,升降杆的底端固接有安装座,安装座的底部安装有移动轮,安装座的一侧设置有定位组件;内螺纹筒的外部套接有外齿轮环,外齿轮环的一侧设置有驱动组件;所述升降杆的侧面竖直设置有导向滑槽,所述导向滑槽内滑动连接有导向滑杆,且导向滑杆的顶端与检测台的顶部固定连接;本实用新型能够对检测台的高度进行调整,以便满足不同身高使用者的操作高度需求。


