授权公布号:CN214920948U
一种可单手操作的省力断线钳
有效
申请
2020-12-30
申请公布
1970-01-01
授权
2021-11-30
预估到期
2030-12-30
| 申请号 | CN202023288149.4 |
| 申请日 | 2020-12-30 |
| 授权公布号 | CN214920948U |
| 授权公告日 | 2021-11-30 |
| 分类号 | B23D29/02 |
| 分类 | 机床;不包含在其他类目中的金属加工; |
| 申请人名称 | 徐州金虎工具制造有限公司 |
| 申请人地址 | 江苏省徐州市邳州市碾庄镇镇北街 |
专利法律状态
2021-11-30
授权
状态信息
授权
摘要
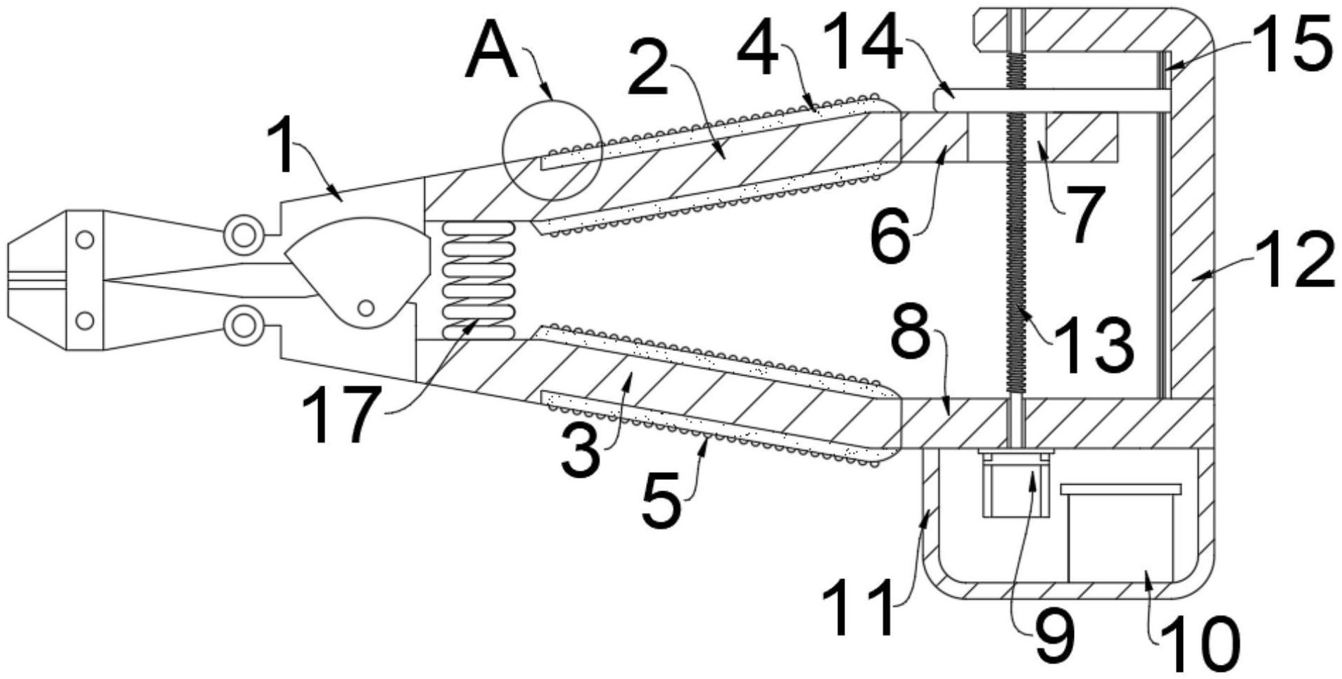
本实用新型公开了一种可单手操作的省力断线钳,涉及断线钳技术领域,为解决现有的断线钳在剪断较粗线缆时,较为吃力,严重影响工作人员工作效率问题。所述断线钳夹断机构一侧的上端安装有第一力臂,所述第一力臂与断线钳夹断机构固定连接,所述断线钳夹断机构一侧的下端安装有第二力臂,所述第二力臂与断线钳夹断机构固定连接,所述第一力臂的一端安装有第一延长板,所述第一延长板与第一力臂固定连接,所述第二力臂的一端安装有第二延长板,所述第二延长板与第二力臂固定连接,所述第二延长板上端的一侧安装有夹断支架,所述夹断支架与第二延长板焊接连接。


