授权公布号:CN214291115U
一种断线钳的刀头体
有效
申请
2020-12-30
申请公布
1970-01-01
授权
2021-09-28
预估到期
2030-12-30
| 申请号 | CN202023332231.2 |
| 申请日 | 2020-12-30 |
| 授权公布号 | CN214291115U |
| 授权公告日 | 2021-09-28 |
| 分类号 | B23D29/02;B21F11/00 |
| 分类 | 机床;不包含在其他类目中的金属加工; |
| 申请人名称 | 徐州金虎工具制造有限公司 |
| 申请人地址 | 江苏省徐州市邳州市碾庄镇镇北街 |
专利法律状态
2021-09-28
授权
状态信息
授权
摘要
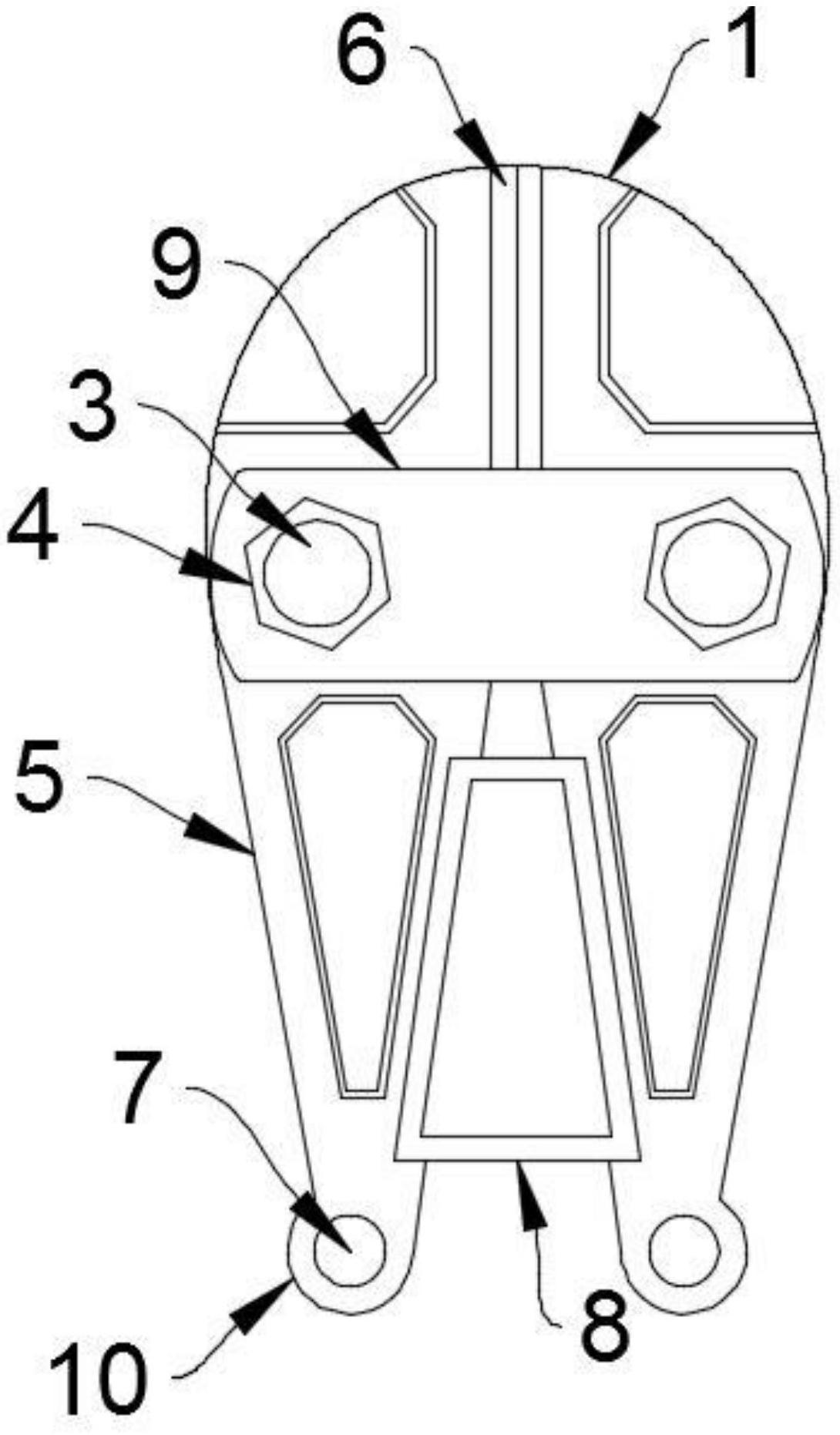
本实用新型公开了一种断线钳的刀头体,涉及五金工具技术领域,为解决现有技术中的断线钳的刀头体在长时间使用后,因为刀片之间的抖动,容易出现螺栓与螺母松动的情况,导致刀头体的两个刀片的位置偏移,此时使用会对两个刀片的刀刃造成损伤,大大影响刀头体的使用寿命的问题。所述第二刀片的两侧均设置有限位片,且限位片呈等腰梯形,所述限位片与第二刀片焊接连接,两个所述限位片之间形成间隙,所述第一刀片与两个限位片之间的间隙相吻合,所述第一刀片的一侧设置有第一压片,且第一刀片的另一侧设置有第二压片,所述第二压片远离第二刀片的一侧设置有螺母,且螺母有两个。


