授权公布号:CN210587009U
一种交叉五金模具
有效
申请
2019-07-09
申请公布
1970-01-01
授权
2020-05-22
预估到期
2029-07-09
| 申请号 | CN201921060099.9 |
| 申请日 | 2019-07-09 |
| 授权公布号 | CN210587009U |
| 授权公告日 | 2020-05-22 |
| 分类号 | B22C9/06 |
| 分类 | 铸造;粉末冶金; |
| 申请人名称 | 徐州金虎工具制造有限公司 |
| 申请人地址 | 江苏省徐州市邳州市碾庄镇镇北街 |
专利法律状态
2020-05-22
授权
状态信息
授权
摘要
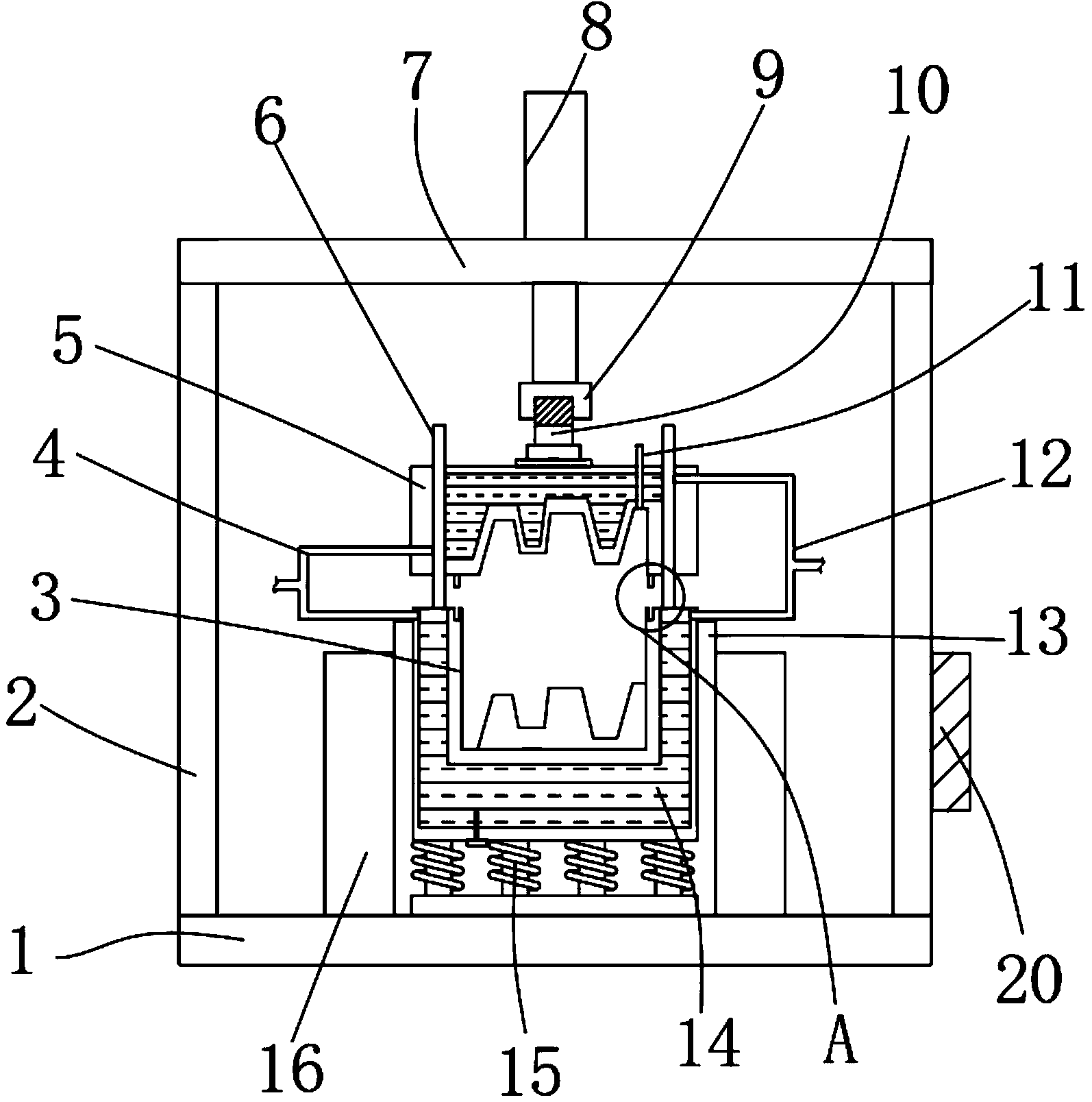
本实用新型公开了一种交叉五金模具,包括安装底座,所述安装底座的顶部通过螺栓连接有固定块,所述固定块的内壁底部通过螺栓连接有等距离分部的复位弹簧,且复位弹簧的顶部放置有下模具,所述下模具的顶部四角通过螺栓连接有定位杆,且定位杆的外壁套接有上模具,所述下模具和上模具的内部均开设有冷却腔。本实用新型中,通过设置有密封块,密封卡槽、定位杆、复位弹簧,在上模具进行闭合时,上模具上安装的密封块卡接在下模具上开设的密封卡槽内部,提高了装置注料的密封性,同时定位杆增大了上模具下降的稳定性,滑动块在固定块内部滑动,增大了下模具的稳定性,同时复位弹簧为下模具提供一定滑动距离,便于对下模具进行顶出更换。


