授权公布号:CN218194988U
一种多用途气动工具
有效
申请
2022-09-22
申请公布
1970-01-01
授权
2023-01-03
预估到期
2032-09-22
| 申请号 | CN202222510053.0 |
| 申请日 | 2022-09-22 |
| 授权公布号 | CN218194988U |
| 授权公告日 | 2023-01-03 |
| 分类号 | B25C11/00 |
| 分类 | 手动工具;轻便机动工具;手动器械的手柄;车间设备;机械手; |
| 申请人名称 | 重庆弘愿工具(集团)有限公司 |
| 申请人地址 | 重庆市巴南区界石镇界南街157号 |
专利法律状态
2023-01-03
授权
状态信息
授权
摘要
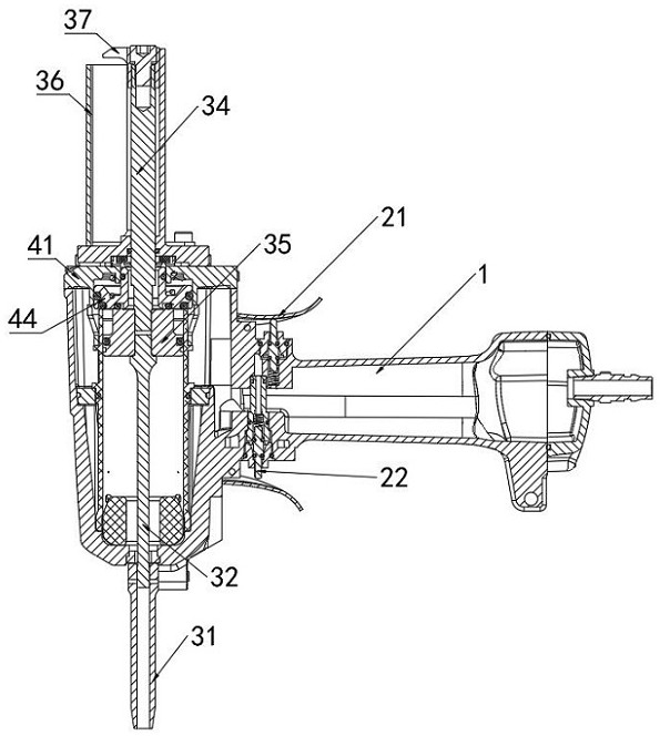
本实用新型公开了一种多用途气动工具,包括壳体,在壳体内设有气缸、第一撞针和驱动机构,气缸顶部设有与壳体连接的汽缸盖,气缸内设有活塞,活塞与第一撞针连接,驱动机构驱动活塞击发第一撞针;壳体一端设有带有枪管孔的钉头;壳体上设有触发驱动机构的扳机机构;其中,壳体上还设起钉结构,起钉结构包括第二撞针,第二撞针的连接端穿过汽缸盖后与活塞连接;第二撞针的起钉端连接有带有U型卡槽的拔钉爪。本实用新型中的气动工具能够实现打钉、推钉以及起钉三种功能,与现有的气动工具相比,功能及用途更多,使用更方便。


