授权公布号:CN211220544U
一种电动钉枪
有效
申请
2019-10-30
申请公布
1970-01-01
授权
2020-08-11
预估到期
2029-10-30
| 申请号 | CN201921844553.X |
| 申请日 | 2019-10-30 |
| 授权公布号 | CN211220544U |
| 授权公告日 | 2020-08-11 |
| 分类号 | B25C1/06 |
| 分类 | 手动工具;轻便机动工具;手动器械的手柄;车间设备;机械手; |
| 申请人名称 | 重庆弘愿工具(集团)有限公司 |
| 申请人地址 | 重庆市巴南区界石镇界南街157号 |
专利法律状态
2020-08-11
授权
状态信息
授权
摘要
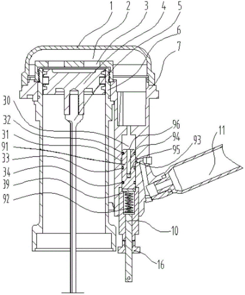
本实用新型提供了一种电动钉枪,包括壳体,在壳体内设置有气缸、撞针和驱动机构,撞针连接气缸内的活塞,驱动机构驱动活塞动作以实现撞针击发;驱动机构包括与气缸连通的气室,用于给气室补充气体的储气罐;在壳体内设置有用于控制气室与储气罐的连接通道打开和关闭的调节机构。打钉时,电动钉枪的阀不会因气压变化而移动,且阀下方的弹簧不易失效;打钉过程稳定性好,不会出现打钉力度过小的情况;补充气压时,只需要补充相对(相对于活塞位于非下止点时)最小容积的气体或者相对最低气压的气体,还能够在使用过程中防止弹簧跳动。


