授权公布号:CN218151297U
一种柱塞泵的驱动机构
有效
申请
2022-10-31
申请公布
1970-01-01
授权
2022-12-27
预估到期
2032-10-31
| 申请号 | CN202222876640.1 |
| 申请日 | 2022-10-31 |
| 授权公布号 | CN218151297U |
| 授权公告日 | 2022-12-27 |
| 分类号 | F04B17/03;F04B9/04;F04B9/06;F04B53/22 |
| 分类 | 液体变容式机械;液体泵或弹性流体泵; |
| 申请人名称 | 浙江荣鹏气动工具股份有限公司 |
| 申请人地址 | 浙江省台州市路桥区蓬街镇水缺头村 |
专利法律状态
2022-12-27
授权
状态信息
授权
摘要
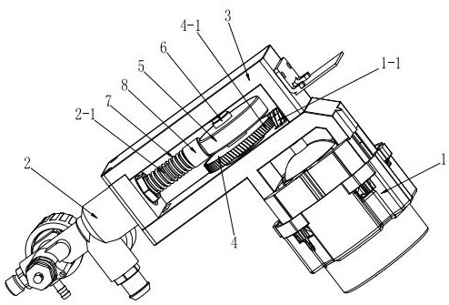
本实用新型公开了一种柱塞泵的驱动机构,包括电机、柱塞泵总成,电机与柱塞泵总成之间通过安装架进行传动连接,安装架中设有传动组件,传动组件包括传动轮、偏心顶压轮、轮轴、复位弹簧;偏心顶压轮的圆周侧面与柱塞泵总成中的柱塞杆端部对应顶靠,偏心顶压轮的偏心转动会对柱塞杆进行顶压前进,复位弹簧套设在柱塞杆上、其弹力推动柱塞杆复位,使得柱塞杆端部保持贴合顶靠在偏心顶压轮的圆周侧面上。本实用新型中传动组件将柱塞杆工作过程的推动、复位分为对应不同部件进行动作执行,使得柱塞杆移动过程中所承受的径向力、和电机推动的负载力减少,使用寿命提高,同时可以及时的执行柱塞杆的推动复位工作,保证柱塞泵总成的工作效果。


