授权公布号:CN214077403U
一种喷枪的旋转式双头外牙接头组件
有效
申请
2020-12-15
申请公布
1970-01-01
授权
2021-08-31
预估到期
2030-12-15
| 申请号 | CN202023036024.2 |
| 申请日 | 2020-12-15 |
| 授权公布号 | CN214077403U |
| 授权公告日 | 2021-08-31 |
| 分类号 | B05B13/02 |
| 分类 | 一般喷射或雾化;对表面涂覆液体或其他流体的一般方法〔2〕; |
| 申请人名称 | 浙江瑞丰五福气动工具有限公司 |
| 申请人地址 | 浙江省台州市温岭市石塘镇上马工业园区福港路100号 |
专利法律状态
2021-08-31
授权
状态信息
授权
摘要
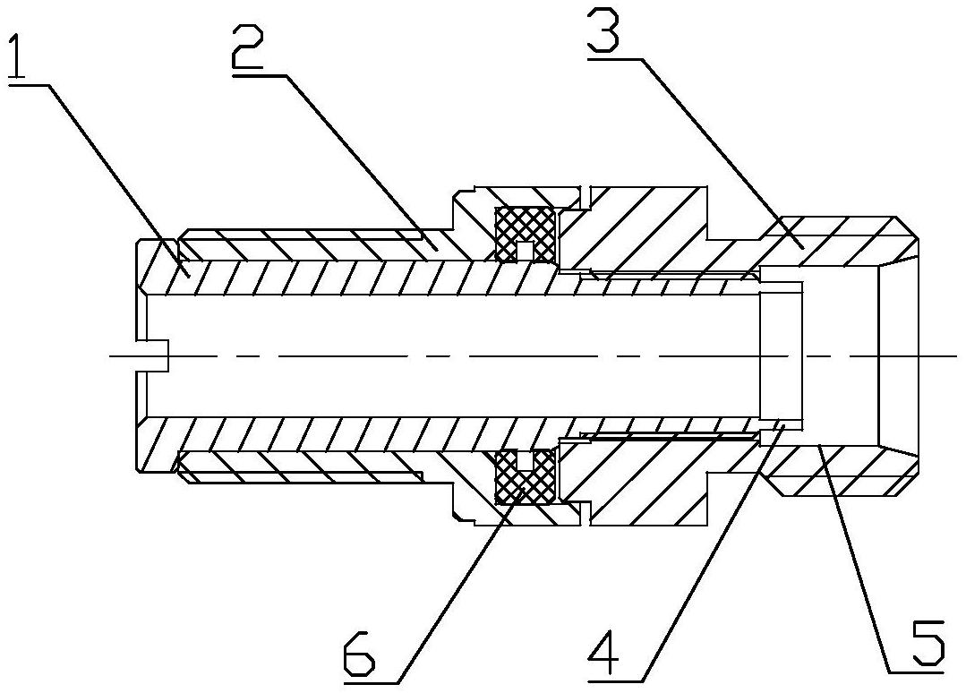
本实用新型属于喷枪的技术领域,涉及一种喷枪的旋转式双头外牙接头组件,包括接头锁紧杆、接头固定座和接头活动座,所述接头固定座和接头活动座上均设置有外螺纹,所述接头固定座和接头活动座依次套设在接头锁紧杆上,所述接头锁紧杆的后端同轴设置有环形的铆接段,所述接头活动座的后端内壁上同轴设置有扩径段,所述铆接段与扩径段铆接。本实用新型提供的喷枪的旋转式双头外牙接头组件,可以防止接头活动座从接头锁紧杆上脱出,从而提高产品的使用寿命和安全性能。


