授权公布号:CN215542126U
一种旋转式双头外牙接头组件
有效
申请
2021-06-23
申请公布
1970-01-01
授权
2022-01-18
预估到期
2031-06-23
| 申请号 | CN202121407542.2 |
| 申请日 | 2021-06-23 |
| 授权公布号 | CN215542126U |
| 授权公告日 | 2022-01-18 |
| 分类号 | B05B15/00 |
| 分类 | 一般喷射或雾化;对表面涂覆液体或其他流体的一般方法〔2〕; |
| 申请人名称 | 浙江瑞丰五福气动工具有限公司 |
| 申请人地址 | 浙江省台州市温岭市石塘镇上马工业园区福港路100号 |
专利法律状态
2022-01-18
授权
状态信息
授权
摘要
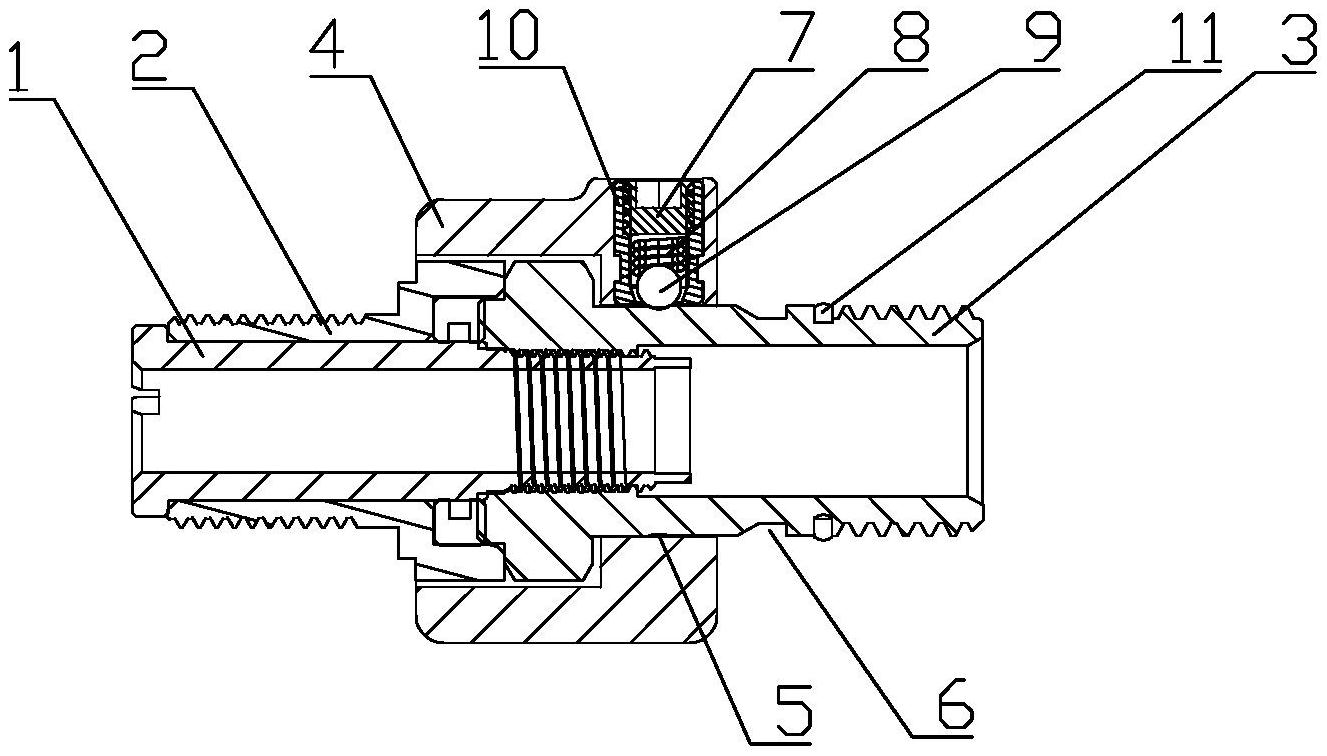
本实用新型属于喷枪的技术领域,涉及一种旋转式双头外牙接头组件,包括接头锁紧杆、接头固定座和接头活动座,所述接头固定座和接头活动座上均设置有外螺纹,所述接头固定座套设在接头锁紧杆上,接头活动座与接头锁紧杆螺接固定,所述接头组件外套设有接头固定套,所述接头固定套内设置有锁紧接头组件的棱形内壁,所述接头固定套于锁紧位和解锁位之间轴向移动。本实用新型提供的旋转式双头外牙接头组件,在保证接头360°可旋转的情况下,增加了定位锁紧结构;接头固定套与旋转接头分别是一个整体组件,接头固定套可以取下,取下后接头也是一个完整的360°旋转接头。


