授权公布号:CN212899189U
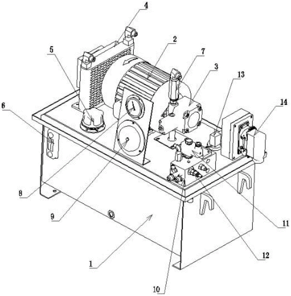
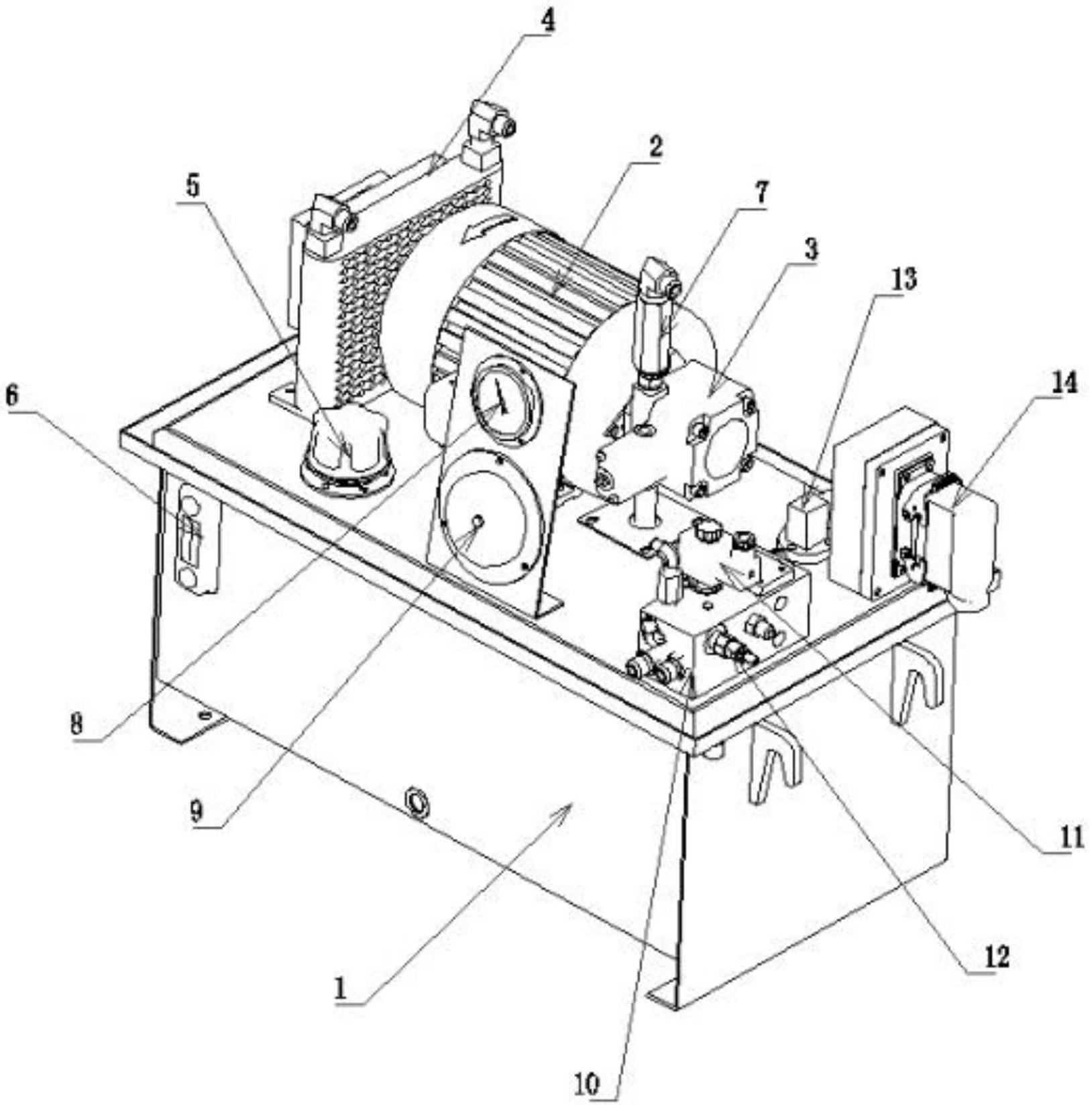
一种龙门系统液压站
有效
申请
2020-08-11
申请公布
1970-01-01
授权
2021-04-06
预估到期
2030-08-11
| 申请号 | CN202021664218.4 |
| 申请日 | 2020-08-11 |
| 授权公布号 | CN212899189U |
| 授权公告日 | 2021-04-06 |
| 分类号 | F15B13/02;F15B19/00;F15B11/08;F15B21/0423;F15B1/26 |
| 分类 | 流体压力执行机构;一般液压技术和气动技术; |
| 申请人名称 | 上海七洋液压机械有限公司 |
| 申请人地址 | 上海市松江区松江工业区茸北分区茸兴路17号 |
专利法律状态
2021-04-06
授权
状态信息
授权
摘要
本实用新型公开了一种龙门系统液压站,包括:油箱、电机、变量叶片泵、强制风冷冷却器、注油器、压力表、电接点压力表、油路块、双止逆电磁螺纹插装阀、插式溢流阀、液位开、线盒。系统合理且紧凑,便于维修和更换零部件。克服部分龙门架自重,不仅使龙门架更加的稳定易调,而且节约的大量能量。


