授权公布号:CN213561414U
一种中心出水系统
有效
申请
2020-08-11
申请公布
1970-01-01
授权
2021-06-29
预估到期
2030-08-11
| 申请号 | CN202021661614.1 |
| 申请日 | 2020-08-11 |
| 授权公布号 | CN213561414U |
| 授权公告日 | 2021-06-29 |
| 分类号 | B23Q11/10 |
| 分类 | 机床;不包含在其他类目中的金属加工; |
| 申请人名称 | 上海七洋液压机械有限公司 |
| 申请人地址 | 上海市松江区松江工业区茸北分区茸兴路17号 |
专利法律状态
2021-06-29
授权
状态信息
授权
摘要
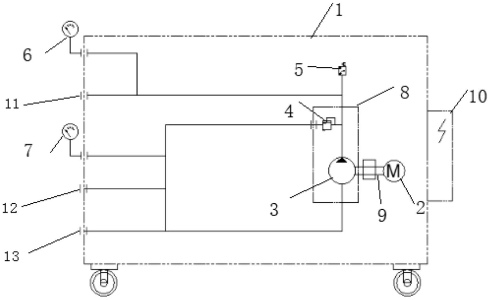
本实用新型公开了一种中心出水系统,所述卧式出轴电机、所述隔膜柱塞泵、所述安全阀、压力开关、联轴器和所述钟形罩设置于所述系统外罩内;所述埋入式压力表、所述真空表和所述电控箱设置于所述系统外罩外部;所述卧式出轴电机通过所述联轴器与所述隔膜柱塞泵的第一端相连,所述隔膜柱塞泵的第二端与所述安全阀的一端,所述压力开关的一端相连;所述压力开关的一端与所述埋入式压力表、高压出水口相连;所述安全阀的另一端与所述真空表、清洁水口和进水口相连;所述电控箱与所述卧式出轴电机、所述埋入式压力表、所述真空表相连。可以使加工的工件表面避免划伤,从而提高加工的精度。中心出水系统的冷却作用可以提高加工速度,使生产效率提高。


