授权公布号:CN220273936U
一种印刷电路板结构
有效
申请
2023-07-20
申请公布
1970-01-01
授权
2023-12-29
预估到期
2033-07-20
| 申请号 | CN202321909640.5 |
| 申请日 | 2023-07-20 |
| 授权公布号 | CN220273936U |
| 授权公告日 | 2023-12-29 |
| 分类号 | H05K1/02;H05K1/18;H05K1/03 |
| 分类 | 其他类目不包含的电技术; |
| 申请人名称 | 上海七洋液压机械有限公司 |
| 申请人地址 | 上海市松江区松江工业区茸北分区茸兴路17号 |
专利法律状态
2023-12-29
授权
状态信息
授权
摘要
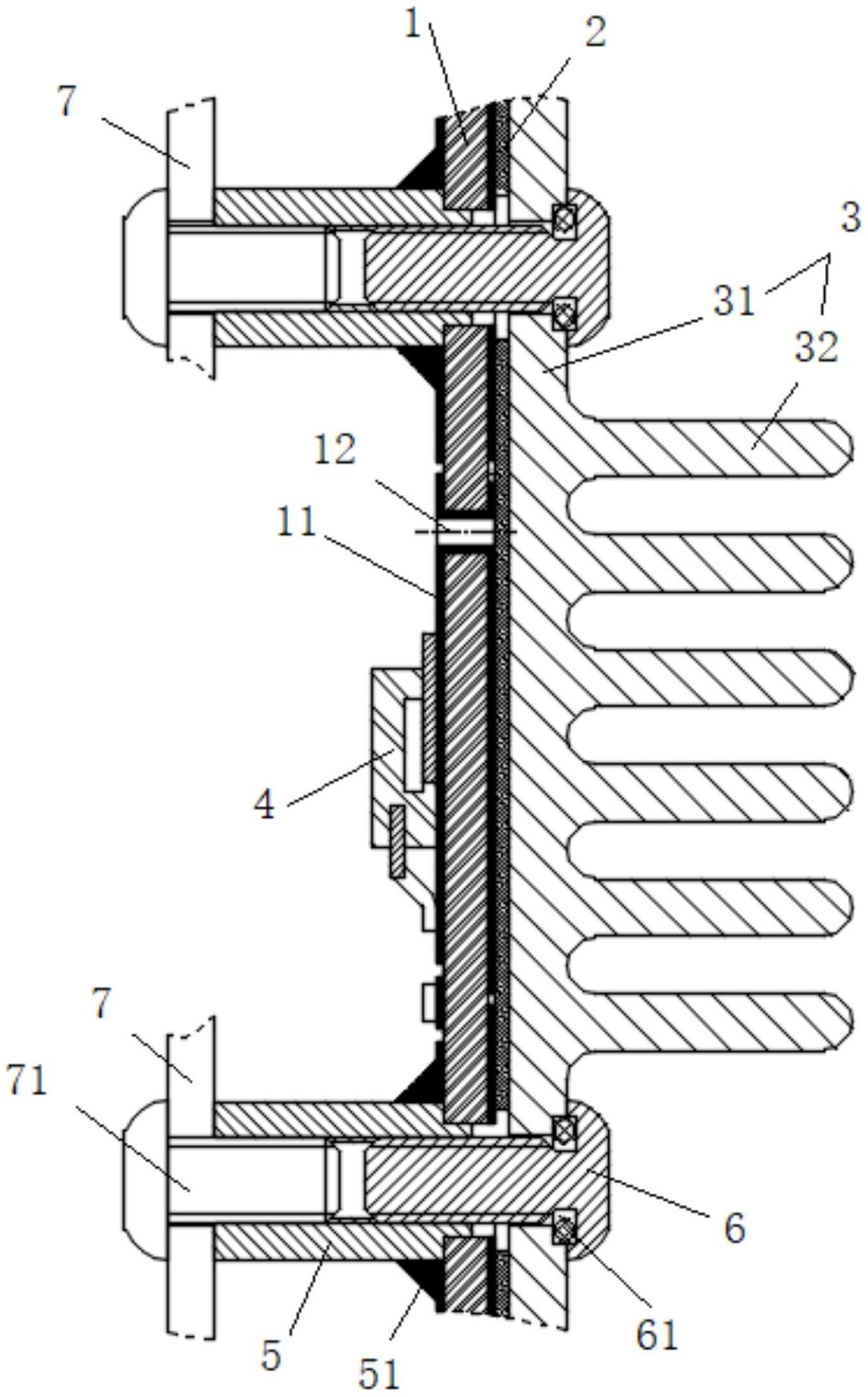
本实用新型涉及电路板技术领域,公开了一种印刷电路板结构。本实用新型的印刷电路板结构,包括:电路板基材、导热硅胶和散热器,电路板基材为非金属材质,外表面包覆有铜层,导热硅胶贴附在电路板基材的背面,散热器包括:基座和散热齿,多个散热齿间隔的设置在基座的一侧,基座的另一侧贴附在导热硅胶上,且与电路板基材连接。本实用新型的印刷电路板结构,电路板基材的背面设有导热硅胶和散热器,电子元器件贴装在电路板基材的正面,在工作时产生的热量经导热硅胶快速的传导给散热器,快速的散发,提高印刷电路板的散热效率,减小电子元器件的温升幅度,降低元件温漂,保证电子元器件正常工作;且电路板基材为非金属材质,成本较低。


