授权公布号:CN106014348B
一种液压抽油机
有效
申请
2016-07-18
申请公布
2016-10-12
授权
2019-03-12
预估到期
2036-07-18
| 申请号 | CN201610575392.3 |
| 申请日 | 2016-07-18 |
| 申请公布号 | CN106014348A |
| 申请公布日 | 2016-10-12 |
| 授权公布号 | CN106014348B |
| 授权公告日 | 2019-03-12 |
| 分类号 | E21B43/00;F15B15/14;F15B15/20 |
| 分类 | 土层或岩石的钻进;采矿; |
| 申请人名称 | 天津优瑞纳斯液压机械有限公司 |
| 申请人地址 | 天津市西青区西青经济开发区兴华二支路20号 |
专利法律状态
2019-03-12
授权
状态信息
授权
2016-11-09
实质审查的生效
状态信息
实质审查的生效IPC(主分类):E21B 43/00申请日:20160718
2016-10-12
公布
状态信息
公开
摘要
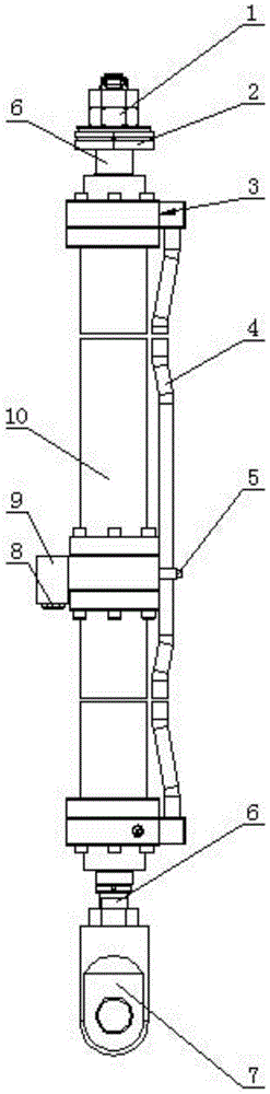
本发明涉及液压装置制造领域,尤其是一种液压抽油机,包括两液压缸,所述两液压缸的后腔相对设置固定安装,该两后腔的内部相互连通形成一空腔,所述两液压缸的前腔通过一油管连通,该油管侧壁内制有油口,所述两液压缸的两活塞杆端部位于同一竖直直线内,进行上下往复运动,该液压缸的两活塞杆端部分别用于与一固定装置和抽油杆的端部相固定;所述两液压缸的后腔通过分别与一过渡块的两侧端部固定连接,所述过渡块和两液压缸的后腔内壁形成用于容置空气的所述空腔,该过渡块制有一排气口,该排气口与外界环境相连通。


