授权公布号:CN209510776U
气液增速液压缸
有效
申请
2019-01-23
申请公布
1970-01-01
授权
2019-10-18
预估到期
2029-01-23
| 申请号 | CN201920114351.3 |
| 申请日 | 2019-01-23 |
| 授权公布号 | CN209510776U |
| 授权公告日 | 2019-10-18 |
| 分类号 | F15B15/14;F15B15/26;F15B13/02;F15B1/02 |
| 分类 | 流体压力执行机构;一般液压技术和气动技术; |
| 申请人名称 | 天津优瑞纳斯液压机械有限公司 |
| 申请人地址 | 北京市海淀区太平路22号院 |
专利法律状态
2019-10-18
授权
状态信息
授权
摘要
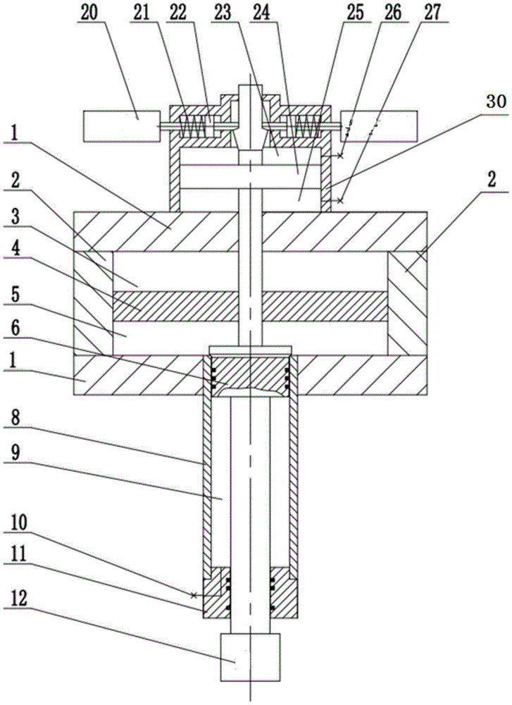
本实用新型提供了气液增速液压缸,属于驱动装置领域,包括从上到下设置的开阀组件、蓄能组件和驱动缸,所述驱动缸包括高速杆,所述高速杆的输出端与外部的负载连通,所述蓄能组件包括由活塞分隔成的相互独立的第一驱动腔和第二驱动腔,所述第二驱动腔设在所述第一驱动腔的下端且驱动所述高速杆运动,所述开阀组件包括提动阀芯,所述提动阀芯上下运动,所述提动阀芯穿过所述活塞控制所述第二驱动缸与所述高速杆的连通和断开。本实用新型由气、液作为能量转换媒介,能量输出可在极短的毫秒级时间内达到百万焦的等级。


