授权公布号:CN106079521B
一体式生活垃圾干湿分离处理装置
有效
申请
2016-07-18
申请公布
2016-11-09
授权
2018-01-23
预估到期
2036-07-18
| 申请号 | CN201610575226.3 |
| 申请日 | 2016-07-18 |
| 申请公布号 | CN106079521A |
| 申请公布日 | 2016-11-09 |
| 授权公布号 | CN106079521B |
| 授权公告日 | 2018-01-23 |
| 分类号 | B30B9/04;B30B15/00 |
| 分类 | 压力机; |
| 申请人名称 | 天津优瑞纳斯液压机械有限公司 |
| 申请人地址 | 天津市西青区西青经济开发区兴华二支路20号 |
专利法律状态
2018-01-23
授权
状态信息
授权
2016-12-07
实质审查的生效
状态信息
实质审查的生效IPC(主分类):B30B 9/04申请日:20160718
2016-11-09
公布
状态信息
公开
摘要
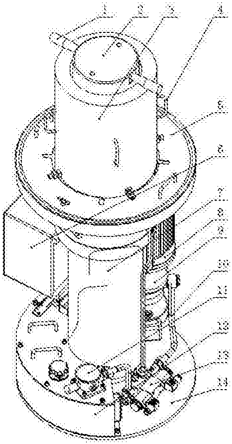
本发明涉及一体式生活垃圾干湿分离处理装置,所述挤压缸竖直安装在底座上,挤压缸内的活塞杆朝上设置且伸入挤压缸上端安装的挤压腔内,所述挤压缸通过开关阀组、油泵连接所述油箱,所述油箱安装在底座上,所述油泵和其驱动电机安装在挤压缸外缘或侧方的底座上。本发明中,挤压缸和挤压腔同轴上下安装在底座上,油泵、油箱、开关阀组和电控箱均设置在底座或挤压缸上,在挤压腔上设置多个吊耳,在运输、搬运等的吊装过程中也非常方便,而且在挤压腔的下端外缘套装一导流套,该导流套的直径大于挤压腔且二者相互连通,当生活垃圾的含水量非常高时,挤压出的大量水分可以先流入导流套内,起到了一个缓冲作用,然后这些水可以通过排水管流出。


