授权公布号:CN217922197U
一种多用途可调节式热处理淬火挂具
有效
申请
2022-07-11
申请公布
1970-01-01
授权
2022-11-29
预估到期
2032-07-11
| 申请号 | CN202221794736.7 |
| 申请日 | 2022-07-11 |
| 授权公布号 | CN217922197U |
| 授权公告日 | 2022-11-29 |
| 分类号 | C21D1/62 |
| 分类 | 铁的冶金; |
| 申请人名称 | 合肥长源液压股份有限公司 |
| 申请人地址 | 安徽省合肥市当涂北路瑶海工业园珍珠路 |
专利法律状态
2022-11-29
授权
状态信息
授权
摘要
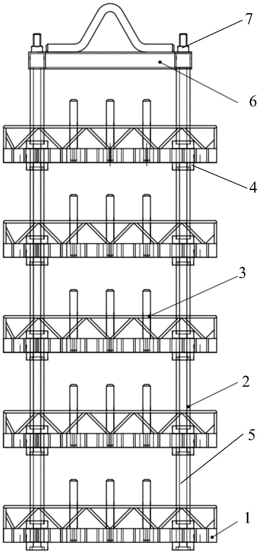
本实用新型公开了一种多用途可调节式热处理淬火挂具,包括若干层料筐、多根螺杆、以及顶部的起吊支架,料筐从下至上依次排列并通过螺杆进行连接,起吊支架与螺杆顶部连接;料筐为圆盘形网状结构,料筐中部设有多个销轴孔,销轴孔内可以安装支撑销轴,用于支撑被淬火零件中空部分。其中,销轴孔与支撑销轴间隙配合,且多个销轴孔之间有规律的排列,针对不同大小的淬火零件,可以选择一个或多个支撑销轴来支撑淬火零件;针对不同深度的淬火零件,可以选择不同长度的销轴来支撑淬火零件,减少淬火件的变形量。该挂具中销轴孔中间距离可调整,并满足一些粗长轴类、内啮合齿轮等高要求、低变形量的挂具;此外,该挂具节约资源保护环境、降低成本。


