授权公布号:CN213064139U
一种液压压缩机双作用液压缸活塞锁紧结构
有效
申请
2020-09-15
申请公布
1970-01-01
授权
2021-04-27
预估到期
2030-09-15
| 申请号 | CN202022012131.5 |
| 申请日 | 2020-09-15 |
| 授权公布号 | CN213064139U |
| 授权公告日 | 2021-04-27 |
| 分类号 | F15B15/14;F15B15/26 |
| 分类 | 流体压力执行机构;一般液压技术和气动技术; |
| 申请人名称 | 武汉齐达康环保科技股份有限公司 |
| 申请人地址 | 湖北省武汉市汉阳区彭家岭398号第3栋综合楼二楼212办公室 |
专利法律状态
2021-04-27
授权
状态信息
授权
摘要
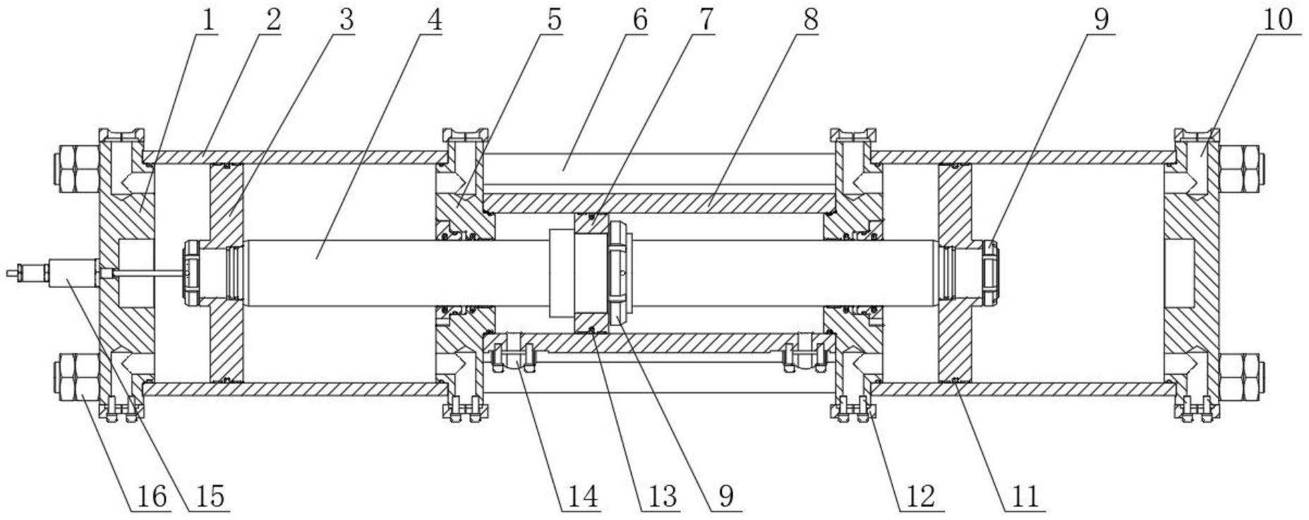
本实用新型提供一种液压压缩机双作用液压缸活塞锁紧结构,涉及活塞结构技术领域。该液压压缩机双作用液压缸活塞锁紧结构,包括左盖和左盖右侧的右盖,所述左盖与右盖之间设置有三组缸筒,所述缸筒为两端是气缸,中间为油缸。该液压压缩机双作用液压缸活塞锁紧结构通过活塞体设计了锁紧结构,活塞体中间设置了螺纹结构与活塞杆上螺纹配合预紧,运动过程中承受载荷,活塞体内侧与活塞杆台阶结合,活塞体外侧还设置了斜角锁紧螺母,斜角锁紧螺母与活塞杆预紧的同时也与活塞体形成双螺纹锁紧结构,斜角锁紧螺母自带内六角螺栓防止螺母转动,形成双锁紧结构,从需保证了活塞体在承受较大活塞力时,运行稳定。


