授权公布号:CN214998568U
一种具有密封检测结构的氢气液压气缸
有效
申请
2021-06-11
申请公布
1970-01-01
授权
2021-12-03
预估到期
2031-06-11
| 申请号 | CN202121311959.9 |
| 申请日 | 2021-06-11 |
| 授权公布号 | CN214998568U |
| 授权公告日 | 2021-12-03 |
| 分类号 | F15B15/14;F15B15/20;F15B3/00;F15B19/00;G01M3/26 |
| 分类 | 流体压力执行机构;一般液压技术和气动技术; |
| 申请人名称 | 武汉齐达康环保科技股份有限公司 |
| 申请人地址 | 湖北省武汉市汉阳区彭家岭398号第3栋综合楼二楼212办公室 |
专利法律状态
2021-12-03
授权
状态信息
授权
摘要
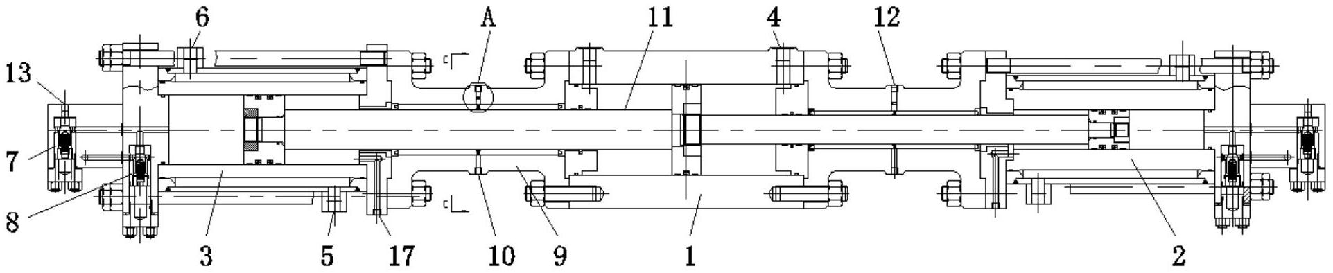
本实用新型公开了一种具有密封检测结构的氢气液压气缸,包括液压动力缸,所述液压动力缸的一端连接有二级压缩缸,所述液压动力缸的表面安装有PLC控制器;一级压缩缸,其连接在所述液压动力缸的另一端,所述二级压缩缸和一级压缩缸与液压动力缸的连接处均设置有密封隔离腔;漏气检测口,其开设在所述密封隔离腔的一侧,所述漏气检测口的内部设置有滑动凸块。该具有密封检测结构的氢气液压气缸,与现有的装置相比,可通过检测结构对密封隔离腔的密封情况进行检测,并且通过设置的PLC控制器可自动控制警报装置进行提醒,避免在氢气液压气缸在使用的过程中气体发生泄漏,影响气缸的正常使用,并且对使用者造成伤害。


