授权公布号:CN217312380U
一种立式气液分离器
有效
申请
2022-04-28
申请公布
1970-01-01
授权
2022-08-30
预估到期
2032-04-28
| 申请号 | CN202221005565.5 |
| 申请日 | 2022-04-28 |
| 授权公布号 | CN217312380U |
| 授权公告日 | 2022-08-30 |
| 分类号 | B01D45/16;B01D50/20 |
| 分类 | 一般的物理或化学的方法或装置; |
| 申请人名称 | 武汉齐达康环保科技股份有限公司 |
| 申请人地址 | 湖北省武汉市汉阳区彭家岭398号第3栋综合楼二楼212办公室 |
专利法律状态
2022-08-30
授权
状态信息
授权
摘要
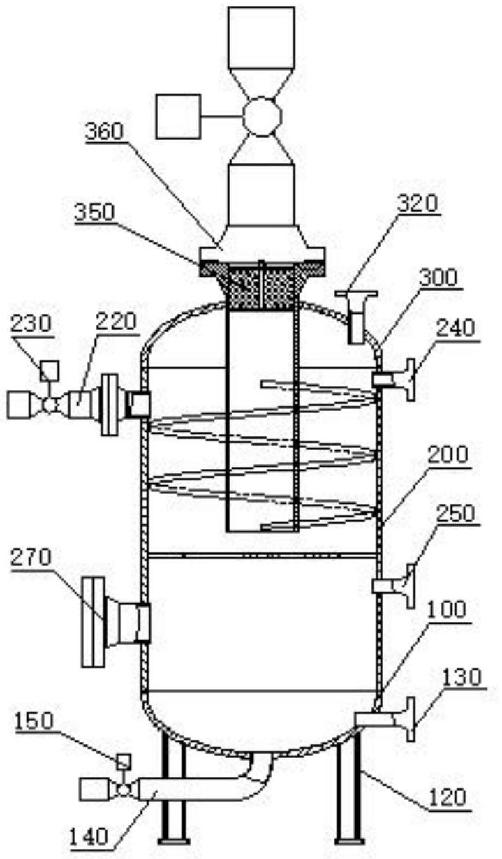
本实用新型提供的一种立式气液分离器,包括下盖组件、筒体组件和上盖组件。所述下盖组件包括下盖、支腿组件、低位液位计连接件组件和排气管组件;所述筒体组件位于所述下盖组件顶部,所述筒体组件包括筒体、进料管组件、压力表连接件组件、高位液位计连接件组件、多孔板和检修组件;所述上盖组件位于所述筒体的顶部,所述上盖组件包括上盖、安全阀连接件组件、连接管组件、螺旋板、丝网除沫器和排气管组件;通过螺旋板、多孔板和丝网除沫器的配合设置,对出口气流中的游离液进行分离,保证出口气流的净化效果。


