授权公布号:CN218458898U
一种细长罐气液分离器
有效
申请
2021-12-29
申请公布
1970-01-01
授权
2023-02-10
预估到期
2031-12-29
| 申请号 | CN202123358873.4 |
| 申请日 | 2021-12-29 |
| 授权公布号 | CN218458898U |
| 授权公告日 | 2023-02-10 |
| 分类号 | B01D45/08;B01D45/06 |
| 分类 | 一般的物理或化学的方法或装置; |
| 申请人名称 | 武汉齐达康环保科技股份有限公司 |
| 申请人地址 | 湖北省武汉市汉阳区彭家岭398号第3栋综合楼二楼212办公室 |
专利法律状态
2023-02-10
授权
状态信息
授权
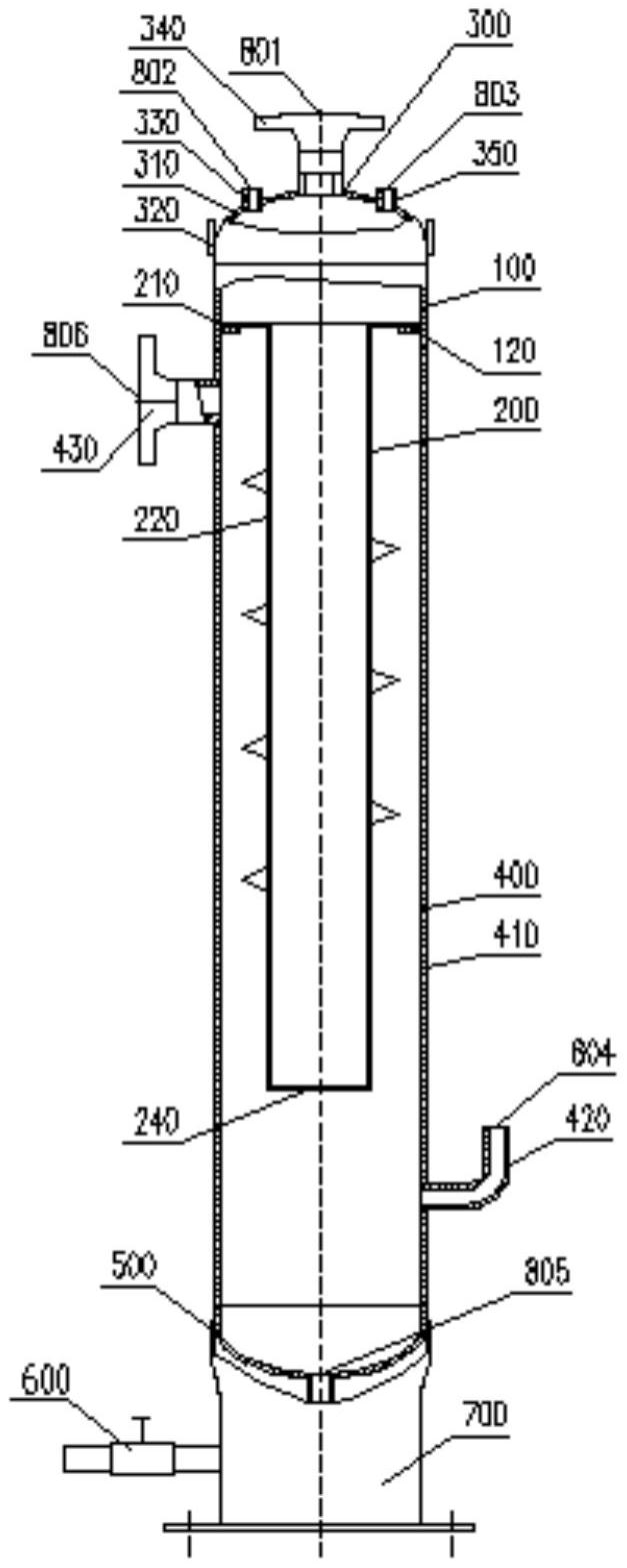
摘要
本实用新型公开了一种细长罐气液分离器,包括:外筒体组件、内筒体组件、上盖组件、细长罐组件、下盖组件、排液组件和底座组件。通过外筒体组件中的支撑板和内筒体组件中的连接板的设置,含有少量液体的压缩气体进入细长罐气液分离器后,流通方向发生变化,速度和能量降低之后就可以实现液体与气体的初步分离;初分离之后气液混合物中还含有微量液滴,由于螺旋板的设置,实现再分离。通过两次分离,含有少量液体的压缩气体中液体基本被除掉,压缩气体从气体出口排出,进入压缩机工作管道,提高了成撬设备工作的可靠性。


