授权公布号:CN212509798U
一种简易可调节的支撑装置
有效
申请
2020-07-09
申请公布
1970-01-01
授权
2021-02-09
预估到期
2030-07-09
| 申请号 | CN202021332008.5 |
| 申请日 | 2020-07-09 |
| 授权公布号 | CN212509798U |
| 授权公告日 | 2021-02-09 |
| 分类号 | F16L3/02;F16L3/20 |
| 分类 | 工程元件或部件;为产生和保持机器或设备的有效运行的一般措施;一般绝热; |
| 申请人名称 | 武汉齐达康环保科技股份有限公司 |
| 申请人地址 | 湖北省武汉市汉阳区彭家岭398号第3栋综合楼二楼212办公室 |
专利法律状态
2021-02-09
授权
状态信息
授权
摘要
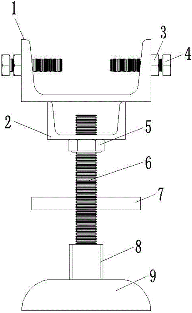
本实用新型公开了一种简易可调节的支撑装置,包括第一槽钢和第二槽钢,所述第一槽钢的下表面焊接有第二槽钢,所述第一槽钢的两侧侧壁和第一螺母的内部均贯穿有螺栓,所述第二槽钢的下方中心安置有第二螺母,所述螺柱的内部安装有手柄,所述套筒的底端焊接有底座。本实用新型解决了不同管径的管道焊接过程中的弯曲变形且表面易磨损的问题,同时该简易可调节的支撑装置取材方便,价格低廉,操作简单,通过转动手柄带动螺柱旋转,螺柱与第二螺母相对运动,可以微调底面到管道垂直方向的距离,待管道高度调节好后,顶部第一槽钢两侧的螺栓可调节管道水平方向的距离,在支撑管道的同时可以随时微调管道竖直水平的距离。


