授权公布号:CN210068125U
一种新型除砂器
有效
申请
2019-06-17
申请公布
1970-01-01
授权
2020-02-14
预估到期
2029-06-17
| 申请号 | CN201920904314.2 |
| 申请日 | 2019-06-17 |
| 授权公布号 | CN210068125U |
| 授权公告日 | 2020-02-14 |
| 分类号 | E21B43/34 |
| 分类 | 土层或岩石的钻进;采矿; |
| 申请人名称 | 武汉齐达康环保科技股份有限公司 |
| 申请人地址 | 湖北省武汉市汉阳区彭家岭398号第3栋综合楼二楼212办公室 |
专利法律状态
2020-02-14
授权
状态信息
授权
摘要
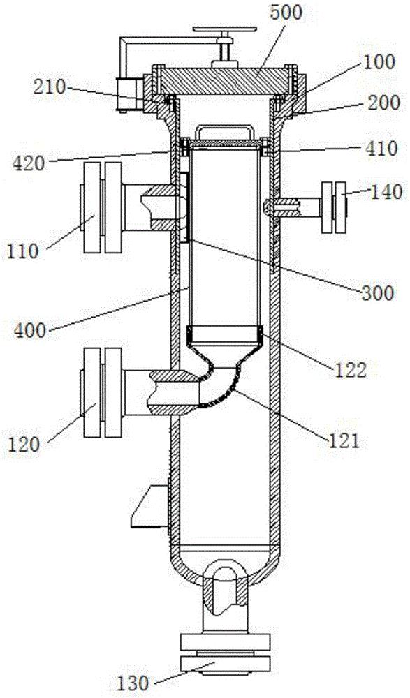
本实用新型公开了井口气回收技术领域的一种新型除砂器,包括除砂器主体、防冲刷内胆、倒流装置、筛筒和快开法兰,所述除砂器主体的内侧壁上侧固定安装所述防冲刷内胆,所述防冲刷内胆的内侧壁左侧固定安装所述倒流装置,所述倒流装置的右侧壁固定安装所述筛筒,所述除砂器主体的顶部固定安装所述快开法兰,所述除砂器主体的左侧壁上侧具有进气口,该新型除砂器,增设的防冲刷内胆,可以直接更换配件,不需要整个除砂器更换,降低更换除砂器频率,减少经济成本;增加筛网,气体在倒流装置进行旋液分离,后从上部经过筛网过滤后出口,能够更高效的过滤气体达到除砂目的,长时间后更换筛网,除砂更加高效。


