授权公布号:CN218452591U
零序或穿心式电流互感器拆模工装
有效
申请
2022-07-22
申请公布
1970-01-01
授权
2023-02-07
预估到期
2032-07-22
| 申请号 | CN202221888593.6 |
| 申请日 | 2022-07-22 |
| 授权公布号 | CN218452591U |
| 授权公告日 | 2023-02-07 |
| 分类号 | B22D29/04 |
| 分类 | 铸造;粉末冶金; |
| 申请人名称 | 大连第一互感器有限责任公司 |
| 申请人地址 | 辽宁省大连市普兰店区海湾路29号 |
专利法律状态
2023-02-07
授权
状态信息
授权
摘要
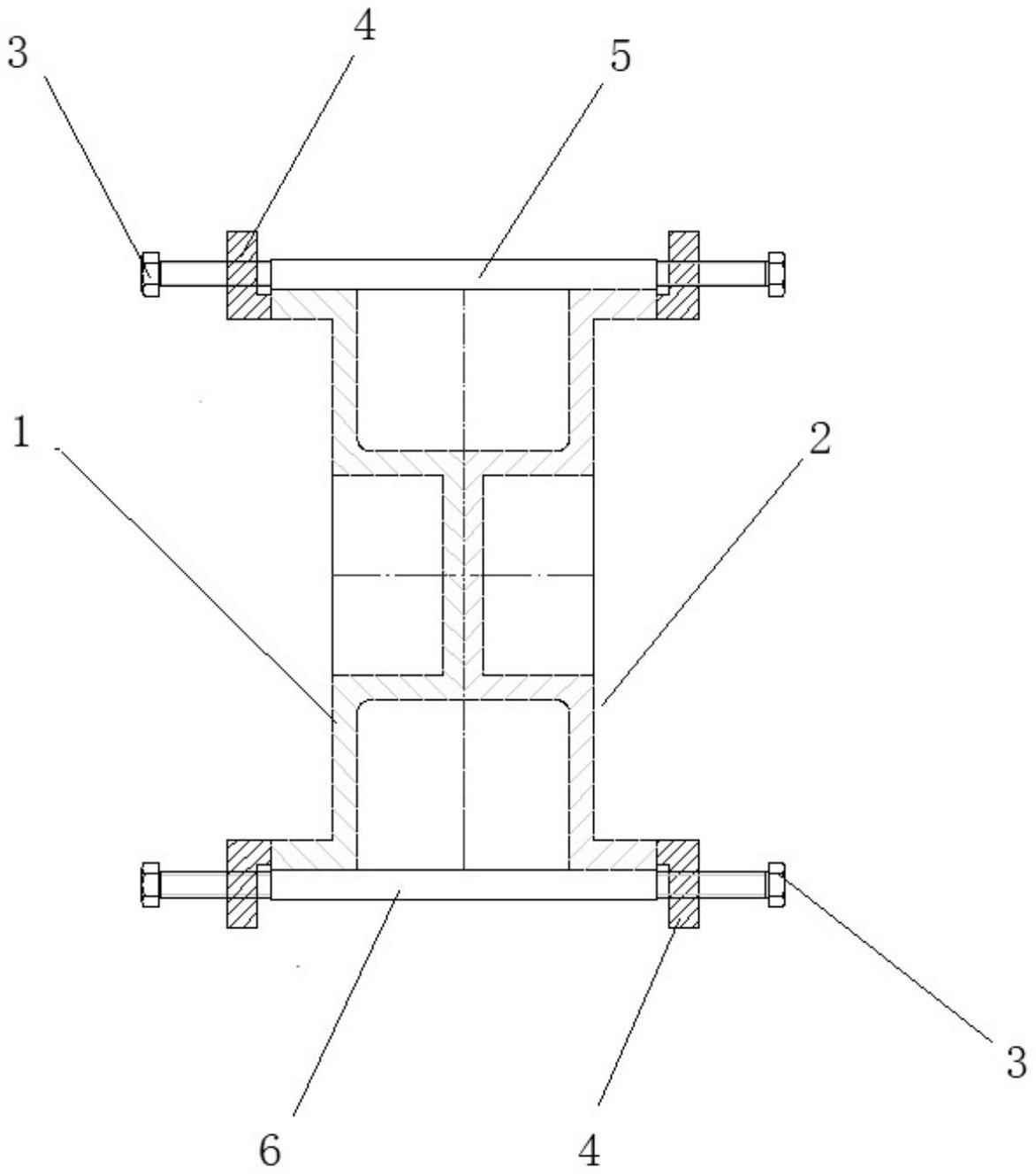
本实用新型公开了一种零序或穿心式电流互感器拆模工装,包括左半模、右半模、模具上底板、模具下底板、L型板和螺栓;在所述的左半模和右半模的外侧板上焊接四组L型板,以L型板的截面方向,所述的L型板的短边垂直模具侧壁,其长边与模具侧壁平行,所述的L型板的长边所在板面的中心处设置有螺孔,螺栓穿过所述的螺孔顶靠在模具上底板和模具下底板的侧壁上。本实用新型节省了原始的人为操作难度,使得拆模方式简易化,提高了模具的维修及使用寿命。


