授权公布号:CN216119871U
一种具有大爬电距离的支柱母线式电流互感器
有效
申请
2021-08-12
申请公布
1970-01-01
授权
2022-03-22
预估到期
2031-08-12
| 申请号 | CN202121878169.9 |
| 申请日 | 2021-08-12 |
| 授权公布号 | CN216119871U |
| 授权公告日 | 2022-03-22 |
| 分类号 | H01F27/30;H01F27/06;H01F27/02;H01F27/36 |
| 分类 | 基本电气元件; |
| 申请人名称 | 大连第一互感器有限责任公司 |
| 申请人地址 | 辽宁省大连市普兰店区海湾路29号 |
专利法律状态
2022-03-22
授权
状态信息
授权
摘要
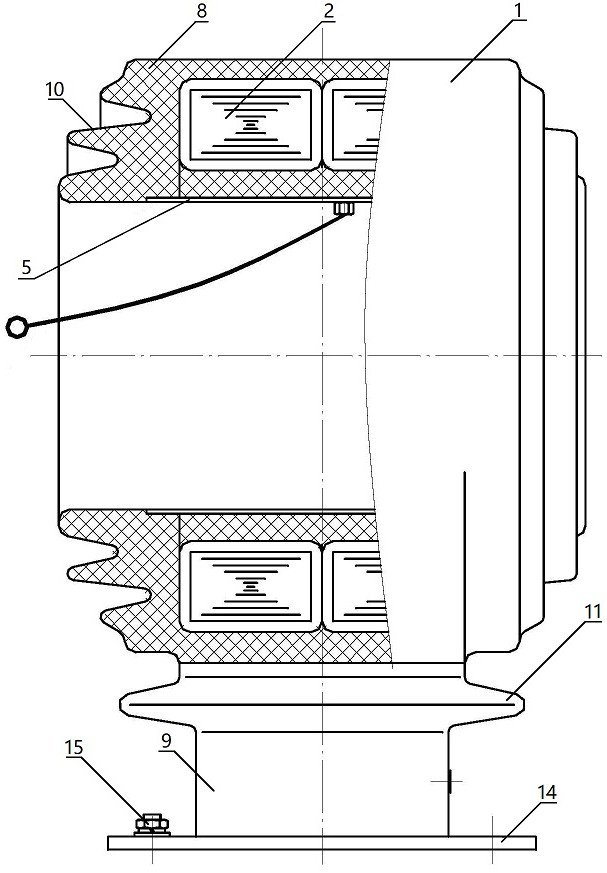
本实用新型涉及一种具有大爬电距离的支柱母线式电流互感器,包括由环氧树脂材料包封的铁心线圈,其特征在于该电流互感器至少包括一个用于设置环形铁心线圈的支架,环形铁心线圈设置在支架的弧形支撑面上,铁心线圈及支架的外表面采取屏蔽包扎并接地的结构,环形铁心线圈的内腔设置高压屏蔽网,用环氧树脂把铁心线圈、支架及高压屏蔽网浇注成一体,形成上部为包封铁心线圈和高压屏蔽网的环形绝缘体,下部为包封支架的绝缘支柱,上部环形绝缘体的两侧端面设有伞裙,下部绝缘支柱外部设有伞裙。其特点是:安装方便,占据空间小,加大了电流互感器的爬电距离,有效防止电流互感器沿外表面放电,该产品的污秽等级为Ⅱ‑Ⅲ级,满足在海上船舶中使用的各项技术和环境参数标准,主绝缘>10mm,保证有足够的耐压强度,爬电距离>300mm,保证有足够的外绝缘,大大提高了产品的稳定性及可靠性,可以在较高湿度环境条件下安全使用。


