授权公布号:CN108695082B
储能传动机构及使用该储能传动机构的旋转式开关操作装置
有效
申请
2017-04-11
申请公布
2018-10-23
授权
2024-02-23
预估到期
2037-04-11
| 申请号 | CN201710233936.2 |
| 申请日 | 2017-04-11 |
| 申请公布号 | CN108695082A |
| 申请公布日 | 2018-10-23 |
| 授权公布号 | CN108695082B |
| 授权公告日 | 2024-02-23 |
| 分类号 | H01H3/30;H01H9/22;H01H19/20 |
| 分类 | 基本电气元件; |
| 申请人名称 | 上海良信电器股份有限公司 |
| 申请人地址 | 上海市浦东新区申江南路2000号 |
专利法律状态
2024-02-23
授权
状态信息
授权
2018-11-16
实质审查的生效
状态信息
实质审查的生效;IPC(主分类):H01H3/30;申请日:20170411
2018-10-23
公布
状态信息
公布
摘要
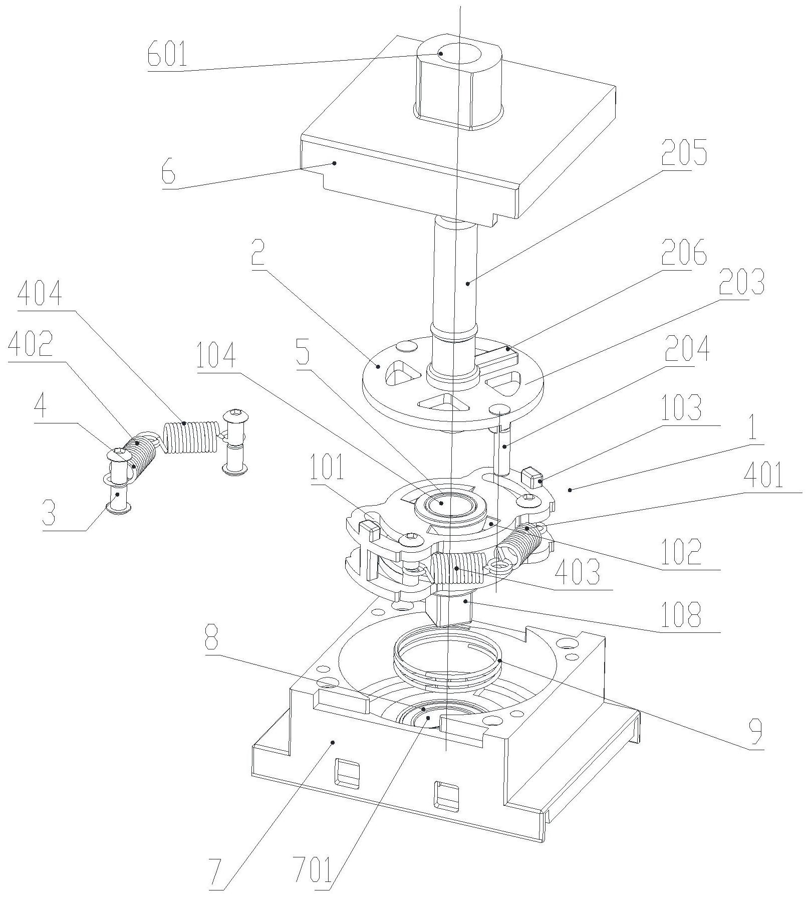
储能传动机构,它包括传动轴(1)和驱动轴(2),其特征在于:所述传动轴(1)上设有滑孔(101),对锁螺钉(3)装在滑孔(101)内能够滑动,传动轴(1)的上端面设有轨道斜坡槽(102),驱动轴(2)内端面设有与轨道斜坡槽(102)对应的脱扣凸台(201),传动轴(1)上端面还设有锁扣凸台(103),驱动轴(2)伸出的定位轴(202)装在传动轴(1)上的定位孔(104)内,储能拉簧组(4)一端装在对锁螺钉(3)上,另一端装在驱动轴(2)伸出的驱动指(204)上,驱动轴(2)转动过程中驱动指(204)拉伸储能拉簧组(4)使其储能。本发明结构简单,可靠性高,开关机构提高了储能及传动的有效功率,降低了机构负载,从而提高机构的动作可靠性及机械寿命。


