授权公布号:CN220189523U
一种接触装置和控制开关
有效
申请
2023-06-29
申请公布
1970-01-01
授权
2023-12-15
预估到期
2033-06-29
| 申请号 | CN202321689666.3 |
| 申请日 | 2023-06-29 |
| 授权公布号 | CN220189523U |
| 授权公告日 | 2023-12-15 |
| 分类号 | H01H50/54;H01H50/44;H01H50/18;H01H50/36;H01H50/64 |
| 分类 | 基本电气元件; |
| 申请人名称 | 上海良信电器股份有限公司 |
| 申请人地址 | 上海市浦东新区申江南路2000号 |
专利法律状态
2023-12-15
授权
状态信息
授权
摘要
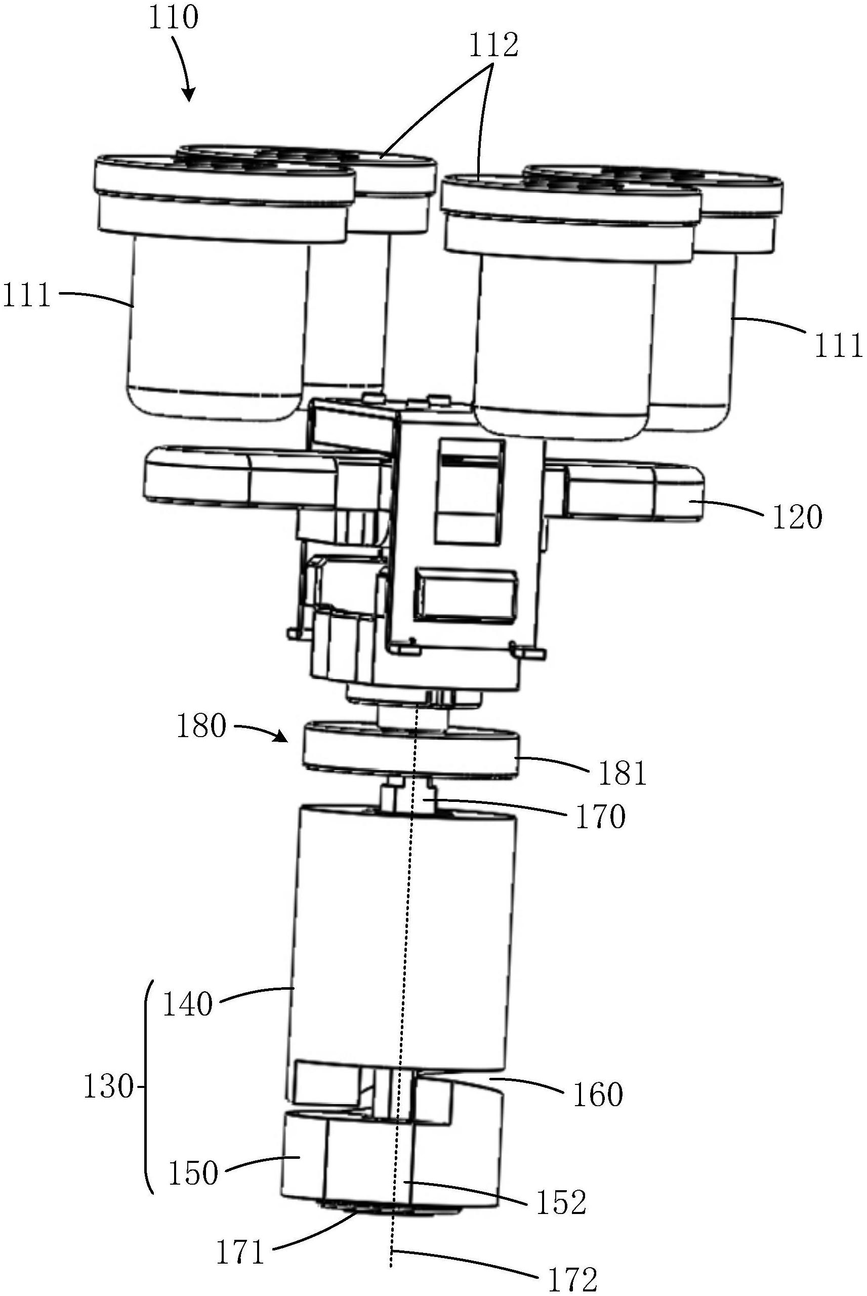
本申请提供一种接触装置和控制开关,涉及低压电器技术领域,包括多个静触头以及用于与多个静触头切换配合以形成不同导电回路的动触头组件,通过将多个静触头进行集成,并使得动触头与其通过切换的方式进行配合,从而能够实现对于各个导电回路控制。能够避免现有技术中简单的叠加接触器的数量所带来的高成本和大体积,有利于接触装置的小型化,从而更好的满足市场需求。


