授权公布号:CN219370820U
一种隔离开关的电操结构和隔离开关
有效
申请
2023-02-22
申请公布
1970-01-01
授权
2023-07-18
预估到期
2033-02-22
| 申请号 | CN202320294427.1 |
| 申请日 | 2023-02-22 |
| 授权公布号 | CN219370820U |
| 授权公告日 | 2023-07-18 |
| 分类号 | H01H3/26;H01H3/32;H01H3/38 |
| 分类 | 基本电气元件; |
| 申请人名称 | 上海良信电器股份有限公司 |
| 申请人地址 | 上海市浦东新区申江南路2000号 |
专利法律状态
2023-07-18
授权
状态信息
授权
摘要
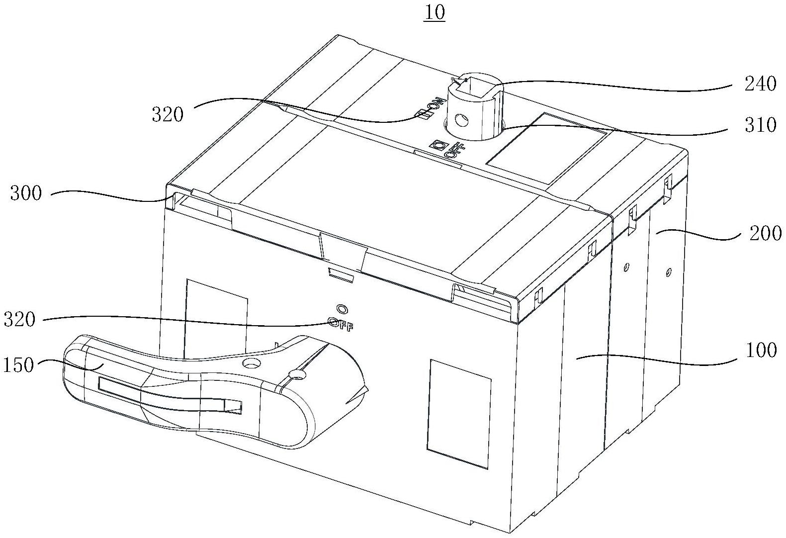
本申请提供一种隔离开关的电操结构和隔离开关,涉及低压电器领域,本申请所提供的一种隔离开关,包括:依次连接的电操模块、操作机构,电操模块驱动操作机构动作;电操模块和操作机构通过拼接结构传动,操作机构连接隔离开关的开关本体,远程控制电操,以驱动操作机构动作,使开关本体分闸或者合闸,本申请根据隔离开关需要远程操作的需求设置了电操,通过电操可以远程驱动操作机构,继而驱动隔离开关的开关本体分闸或者合闸,满足远程分合闸需求,防止直接操作使得操作者有触电风险,远程操作还可以提升产品的智能化,同时本申请所提供的电操可与操作机构快速拼接,减少在使用时的安装时间。


