授权公布号:CN220172015U
一种接触单元及接触器
有效
申请
2023-06-30
申请公布
1970-01-01
授权
2023-12-12
预估到期
2033-06-30
| 申请号 | CN202321717331.8 |
| 申请日 | 2023-06-30 |
| 授权公布号 | CN220172015U |
| 授权公告日 | 2023-12-12 |
| 分类号 | H01H50/54;H01H50/02;G01R19/00;G01R31/00 |
| 分类 | 基本电气元件; |
| 申请人名称 | 上海良信电器股份有限公司 |
| 申请人地址 | 上海市浦东新区申江南路2000号 |
专利法律状态
2023-12-12
授权
状态信息
授权
摘要
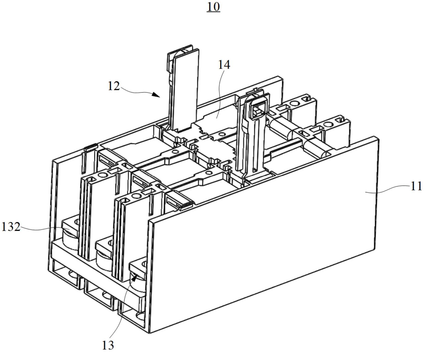
本申请提供一种接触单元及接触器,涉及低压电器技术领域。该接触单元,包括:固定基座和设置在固定基座上的动触头系统组件、静触头系统组件、寿命预测模块和电流采集模块,动触头系统组件在固定基座内沿第一方向往复运动,以与静触头系统组件接触或分离,寿命预测模块用于监测动触头系统组件和静触头系统组件的剩余寿命,电流采集模块用于采集动触头系统组件和静触头系统组件上流经的电流大小。该接触单元包括寿命预测模块和电流采集模块,固定基座上也为寿命预测模块和电流采集模块设置了安装空间。该接触单元具备热继功能和寿命预测功能,智能化程度较高。


