授权公布号:CN205500665U
一种快速千斤顶
有效
申请
2016-03-28
申请公布
1970-01-01
授权
2016-08-24
预估到期
2026-03-28
| 申请号 | CN201620242579.7 |
| 申请日 | 2016-03-28 |
| 授权公布号 | CN205500665U |
| 授权公告日 | 2016-08-24 |
| 分类号 | B66F3/12 |
| 分类 | 卷扬;提升;牵引; |
| 申请人名称 | 佛山市顺德区实力汽车配件有限公司 |
| 申请人地址 | 广东省佛山市顺德区伦教熹涌工业区 |
专利法律状态
2016-08-24
授权
状态信息
授权
摘要
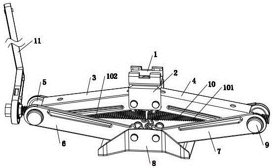
本实用新型涉及一种快速千斤顶,特点是包括底座,第一下支撑臂、第二下支撑臂、左牙螺母、右牙螺母、螺杆、第一上支撑臂、第二上支撑臂、顶头座;第一下支撑臂的一端及第二下支撑臂的一端分别转动的设在底座上;螺杆的左右两侧分别设有左螺纹及右螺纹,左牙螺母套设在螺杆的左侧并螺纹配合,右牙螺母套设在螺杆的右侧并螺纹配合,第一下支撑臂的另一端与左牙螺母转动连接,第二下支撑臂的另一端与右牙螺母转动连接;第一上支撑臂的一端与左牙螺母转动连接,另一端与顶头座转动连接,所述第二上支撑臂的一端与右牙螺母转动连接,另一端与顶头座转动连接。其优点为:能较快的将在顶头座升起或降低,并减少轴承座,防止在操作时轴承座承受过大的压力,从而损坏,使快速千斤顶失效,在操作方便,受力均匀,使用寿命长。


