授权公布号:CN213671025U
一种电焊台焊烟吸收装置
有效
申请
2020-09-24
申请公布
1970-01-01
授权
2021-07-13
预估到期
2030-09-24
| 申请号 | CN202022113762.6 |
| 申请日 | 2020-09-24 |
| 授权公布号 | CN213671025U |
| 授权公告日 | 2021-07-13 |
| 分类号 | B08B15/04;B23K3/08 |
| 分类 | 清洁; |
| 申请人名称 | 深圳市安泰信科技有限公司 |
| 申请人地址 | 广东省深圳市光明新区公明街道森阳高新科技园2栋8楼 |
专利法律状态
2021-07-13
授权
状态信息
授权
摘要
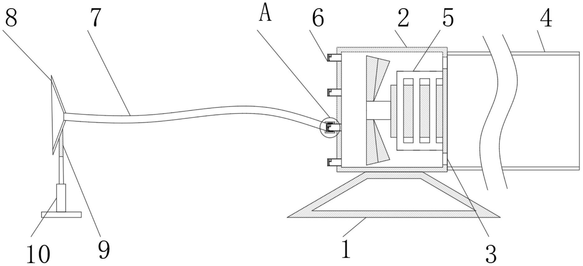
本实用新型公开了一种电焊台焊烟吸收装置,包括安装在焊接工作台上的底座,所述底座顶部固定连接有抽气箱,所述抽气箱一端固定连接有排烟管,所述抽气箱位于排烟管的内部开设有多个气孔,所述抽气箱远离排烟管的一端固定连接有多个进风管,所述进风管外侧设有连接管,所述连接管内侧壁靠近进风管的一侧固定连接有固定架,所述固定架中心部分固定连接有顶杆,本实用新型通过设置可塑性钢管与进风罩,进风罩的设置便于更好的进行吸烟,可塑性钢管的设置使得进风罩可以滞留在任何位置,便于更好的调节进风罩的角度,便于更好的进行吸烟,该装置操作简单,使用效果更好,便于更好的吸烟。


