授权公布号:CN100418687C
电烙铁及其温度控制方法
有效
申请
2005-06-24
申请公布
2006-12-27
授权
2008-09-17
预估到期
2025-06-24
| 申请号 | CN200510035583.2 |
| 申请日 | 2005-06-24 |
| 申请公布号 | CN1883862A |
| 申请公布日 | 2006-12-27 |
| 授权公布号 | CN100418687C |
| 授权公告日 | 2008-09-17 |
| 分类号 | B23K3/02 |
| 分类 | 机床;不包含在其他类目中的金属加工; |
| 申请人名称 | 深圳速特精工科技股份有限公司 |
| 申请人地址 | 深圳市福田区滨河路爱地大厦公寓写字楼22F |
专利法律状态
2011-01-26
专利申请权、专利权的转移
状态信息
专利权的转移;IPC(主分类):B23K3/02;变更事项:专利权人;变更前权利人:深圳斯贝克动力电子有限公司;变更后权利人:深圳速特精工科技股份有限公司;变更事项:地址;变更前权利人:518040 广东省深圳市福田区竹子林紫竹6路金众大厦11-12层;变更后权利人:518000 深圳市福田区滨河路爱地大厦公寓写字楼22F;登记生效日:20101215
2008-09-17
发明专利权授予
状态信息
授权
2007-02-14
实质审查的生效
状态信息
实质审查的生效
2006-12-27
发明专利申请公布
状态信息
公布
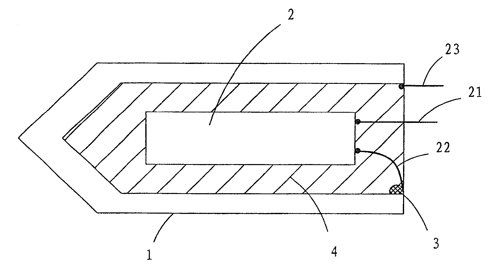
摘要
一种电烙铁及其温度控制方法。该电烙铁包括构成热电偶的中空烙铁头和置于其中的电加热元件,第二导线将加热元件与中空烙铁头相连,在结合点处形成热电偶的热端,而热电偶的冷端分别通过第一导线、第三导线与加热温控单元相连。加热温控单元控制供电单元间断供电给电加热元件,在两次供电的间隙,检测反映所述结合点温度的热电偶信号,根据检测到的热电偶信号控制下一时刻输送给电加热元件的电功率。实施本发明的电烙铁及其温度控制方法,可以直接检测电烙铁头本身的温度,测量数据更加直接、准确;且加热与检测共用一对导线,节省成本、简化工艺。本发明特别适合于体积小、温度控制要求高的电烙铁的应用场合,也可用于其它需要温度控制的电烙铁。


