授权公布号:CN207198264U
单相电测量仪
有效
申请
2017-09-22
申请公布
1970-01-01
授权
2018-04-06
预估到期
2027-09-22
| 申请号 | CN201721227251.9 |
| 申请日 | 2017-09-22 |
| 授权公布号 | CN207198264U |
| 授权公告日 | 2018-04-06 |
| 分类号 | G01R31/00;G01R1/04 |
| 分类 | 测量;测试; |
| 申请人名称 | 泰力基业股份有限公司 |
| 申请人地址 | 浙江省温州市乐清市柳市镇象阳工业区 |
专利法律状态
2018-04-06
授权
状态信息
授权
摘要
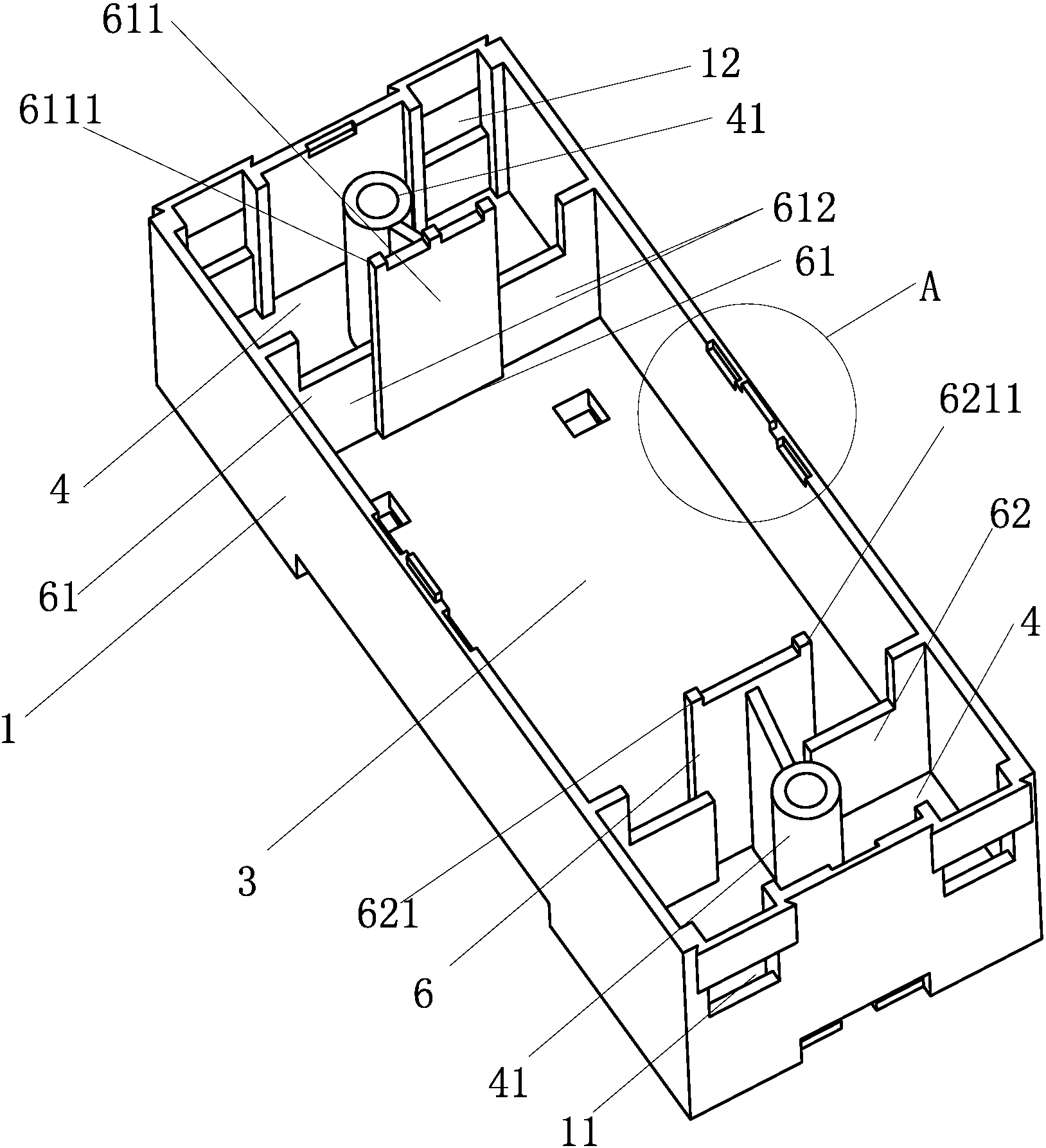
本实用新型涉及一种单相电测量仪,包括基座、上盖,所述基座的正面设置有出线端接线孔,所述基座的背面设置有进线端接线孔,所述上盖上设置有出线端和进线端,所述出线端接线孔与进线端接线孔之间设置有接线板,所述接线板与上盖中设置有的线路板电连接,所述线路板设置在上盖的中部,所述基座的两个侧面中部设置有基座凸台,所述基座凸台两侧设置有基座凹槽,所述上盖的两侧面中部同样设置有与基座凸台扣接的上盖凹槽以及与基座凹槽适配的上盖凸台,所述基座内部形成有对称设置的两个接线腔以及安装腔,本实用新型的目的在于提供可以一种单相电测量仪,主要解决壳体结构复杂不合理的问题。


