授权公布号:CN207264984U
漏电断路器
有效
申请
2017-09-22
申请公布
1970-01-01
授权
2018-04-20
预估到期
2027-09-22
| 申请号 | CN201721227166.2 |
| 申请日 | 2017-09-22 |
| 授权公布号 | CN207264984U |
| 授权公告日 | 2018-04-20 |
| 分类号 | H01H71/02 |
| 分类 | 基本电气元件; |
| 申请人名称 | 泰力基业股份有限公司 |
| 申请人地址 | 浙江省温州市乐清市柳市镇象阳工业区 |
专利法律状态
2018-04-20
授权
状态信息
授权
摘要
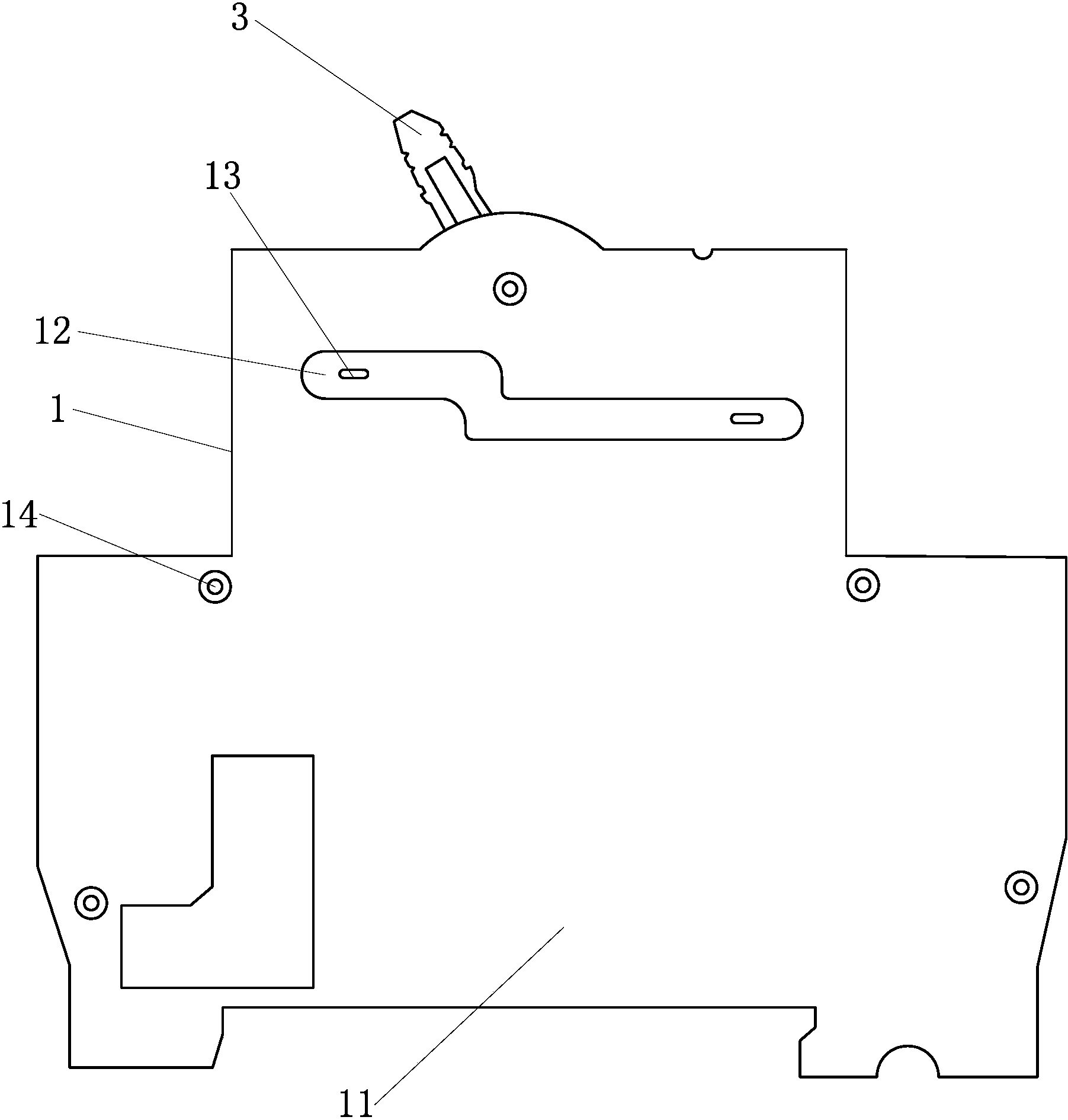
本实用新型涉及一种漏电断路器,包括断路器壳体、漏电壳体,所述断路器壳体和漏电壳体设置有转动手柄,所述断路器壳体与漏电壳体之间形成第一接触壁与第二接触壁,所述第一接触壁设置在断路器壳体,所述第二接触壁设置在漏电壳体,所述第一接触壁与第二接触壁之间设置有连接件,所述连接件包括第一直段、第二直段、连接第一直段和第二直段的过渡段,所述第一直段的长度为第二直段长度的二分之一,所述第一直段的前端与第二直段的后端均设置有插杆,所述插杆对称设置在连接件的两侧,本实用新型的目的在于提供可以一种漏电断路器,主要解决了断路器壳体和漏电壳体之间连接不牢固的问题。


