授权公布号:CN217284145U
一种电动剪动刀片
有效
申请
2022-01-21
申请公布
1970-01-01
授权
2022-08-26
预估到期
2032-01-21
| 申请号 | CN202220175764.4 |
| 申请日 | 2022-01-21 |
| 授权公布号 | CN217284145U |
| 授权公告日 | 2022-08-26 |
| 分类号 | A01G3/037 |
| 分类 | 农业;林业;畜牧业;狩猎;诱捕;捕鱼; |
| 申请人名称 | 重庆派斯克刀具制造股份有限公司 |
| 申请人地址 | 重庆市南岸区茶花路3号 |
专利法律状态
2022-08-26
授权
状态信息
授权
摘要
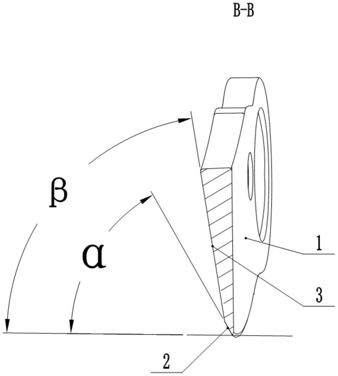
本实用新型涉及园林修剪工具技术领域,公开了一种电动剪动刀片,其特征在于:包括动刀片本体,所述动刀片本体的后刀面包括第一后刀面和第二后刀面,所述第一后刀面靠近动刀片本体的刀尖处,所述第一后刀面与刀尖的法线之间的夹角为第一后角,所述第二后刀面与刀尖的法线之间的夹角为第二后角。本实用新型能够提高刀尖的强度和锋利度,能够有效的延长刀具的使用寿命。


