授权公布号:CN216901073U
用于固定盒式光分及智能ODB的装置及其分纤箱
有效
申请
2022-01-25
申请公布
1970-01-01
授权
2022-07-05
预估到期
2032-01-25
| 申请号 | CN202220205242.4 |
| 申请日 | 2022-01-25 |
| 授权公布号 | CN216901073U |
| 授权公告日 | 2022-07-05 |
| 分类号 | G02B6/44 |
| 分类 | 光学; |
| 申请人名称 | 杭州华宏通信设备有限公司 |
| 申请人地址 | 浙江省杭州市富阳区东洲街道东洲工业功能区七号路17号 |
专利法律状态
2022-07-05
授权
状态信息
授权
摘要
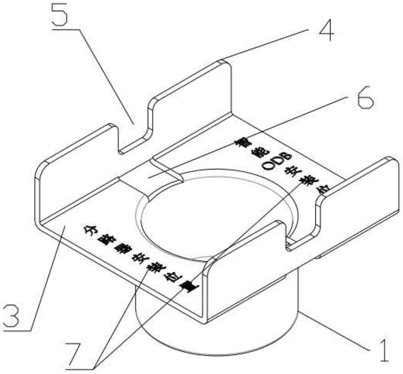
本实用新型公开了一种用于固定盒式光分及智能ODB的装置及其分纤箱,旨在提供一种固定盒式光分路器及其光纤的装置及其分纤箱。包括底座,底座中空式设计,底座的底面设有若干安装孔,底座的顶面开口式设计,底座的顶面配合连接有安装面板,安装面板的两侧设有固定板,固定板上设有固定凹槽,安装面板上配合固定凹槽设有连接孔。所述底座的形状为圆柱体,底座的侧面设有若干防滑凹槽。所述安装孔包括一个第一安装孔和若干第二安装孔,第二安装孔以第一安装孔为中心周向设置。所述连接孔相对设置。所述连接孔的深度至少为安装面板的厚度。本实用新型既可以固定盒式光分路器,又可以优化盒式光分路器中的光纤在分纤箱内的布局。


