授权公布号:CN217848775U
防呆型抽屉式开关柜
有效
申请
2022-07-14
申请公布
1970-01-01
授权
2022-11-18
预估到期
2032-07-14
| 申请号 | CN202221840824.6 |
| 申请日 | 2022-07-14 |
| 授权公布号 | CN217848775U |
| 授权公告日 | 2022-11-18 |
| 分类号 | H02B11/127;H02B11/173;H02B11/02 |
| 分类 | 发电、变电或配电; |
| 申请人名称 | 南洋电气集团有限公司 |
| 申请人地址 | 浙江省温州市乐清市经济开发区纬十五路221号;乐清市乐清湾港区乐商创业园拓展路5号 |
专利法律状态
2022-11-18
授权
状态信息
授权
摘要
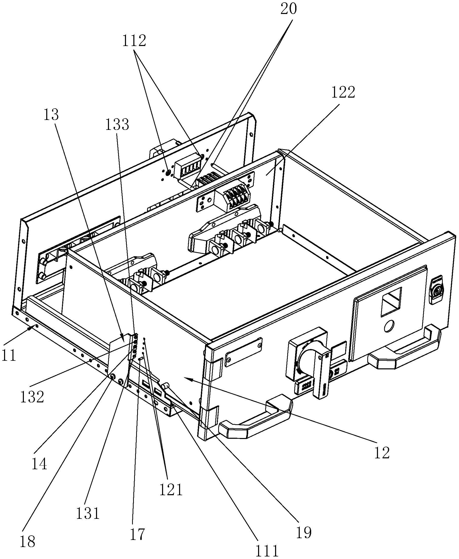
本实用新型涉及一种防呆型抽屉式开关柜,包括柜体、设置在柜体内的抽屉座、与抽屉座相配合的抽屉,所述的抽屉座的一侧上设置有防呆限位板,所述的防呆限位板上分别设置有一个让位槽和多个备用让位槽,所述的备用让位槽内设置有限位螺钉,所述的防呆限位板上对应让位槽、多个备用让位槽处分别设置有编号,所述的抽屉的一侧上对应让位槽、多个让位槽处分别设置有多个限位孔,所述的抽屉上对应多个限位孔处分别设置有与编号相对应的限位编号,其中一个限位孔内设置有让位槽相配合的限位螺栓,所述的限位螺栓随抽屉动作且可穿过让位槽。本实用新型具有结构简单、性能稳定可靠、成本低、防止误操作、高安全性的优点。


