授权公布号:CN217848773U
防误操作的抽屉式开关柜
有效
申请
2022-07-14
申请公布
1970-01-01
授权
2022-11-18
预估到期
2032-07-14
| 申请号 | CN202221818932.3 |
| 申请日 | 2022-07-14 |
| 授权公布号 | CN217848773U |
| 授权公告日 | 2022-11-18 |
| 分类号 | H02B11/127;H02B11/173;H02B11/02 |
| 分类 | 发电、变电或配电; |
| 申请人名称 | 南洋电气集团有限公司 |
| 申请人地址 | 浙江省温州市乐清市经济开发区纬十五路221号;乐清市乐清湾港区乐商创业园拓展路5号 |
专利法律状态
2022-11-18
授权
状态信息
授权
摘要
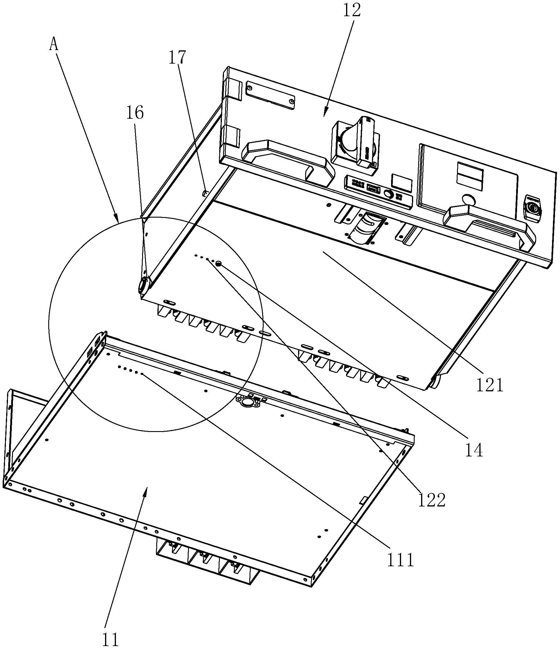
本实用新型涉及一种防误操作的抽屉式开关柜,包括柜体、抽屉座、抽屉,所述的抽屉座上分别设置有限位孔、多个备用限位孔,限位孔、多个备用限位孔横向排列设置在抽屉座上,所述的抽屉座上对应限位孔、多个备用限位孔处分别设置有限位编号,所述的多个备用限位孔内分别设置有限位销钉,所述的抽屉的底板上分别设置有与限位孔、多个备用限位孔的多个定位孔,所述的抽屉上分别设置有与多个定位孔相配合的定位编号,其中一个定位孔内设置有与限位孔相配合制动销钉,所述的制动销钉随抽屉动作且可在限位孔上往复滑动。本实用新型具有结构简单、性能稳定可靠、成本低、防止误操作、高安全性的优点。


