授权公布号:CN218444379U
振动台
有效
申请
2022-09-19
申请公布
1970-01-01
授权
2023-02-03
预估到期
2032-09-19
| 申请号 | CN202222475630.7 |
| 申请日 | 2022-09-19 |
| 授权公布号 | CN218444379U |
| 授权公告日 | 2023-02-03 |
| 分类号 | G01M7/02 |
| 分类 | 测量;测试; |
| 申请人名称 | 苏州东菱振动试验仪器有限公司 |
| 申请人地址 | 江苏省苏州市高新区科技城龙山路2号 |
专利法律状态
2023-02-03
授权
状态信息
授权
摘要
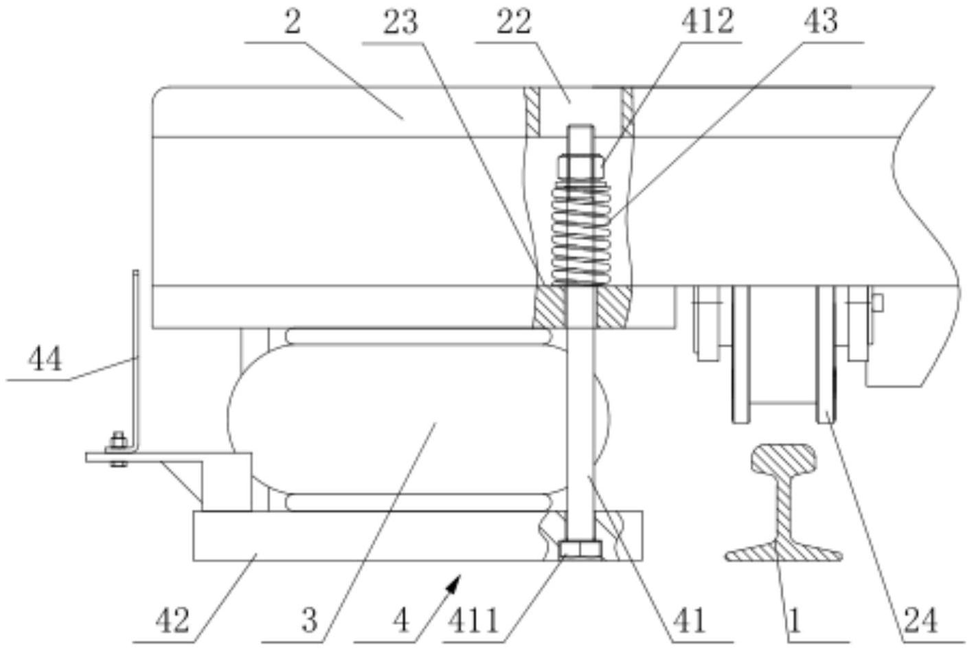
本实用新型涉及振动测试技术领域,具体公开了一种振动台,该振动台包括滑轨组件、支撑架、气囊和托动组件,其中,支撑架具有与滑轨组件分离的工作位置和与滑轨组件接触的移动位置,支撑架上设有振动台本体;气囊设于支撑架下方,气囊在充气状态下能将支撑架移动至工作位置,气囊在放气状态下能将支撑架移动至移动位置。托动组件用于将处于放气状态下的气囊向上托动并远离地面。该振动台通过气囊的充放气,可以实现支撑架在工作位置和移动位置之间的切换,且在工作位置时受到气囊的承托,通过设置托动组件,将放气状态下的气囊向上托动并远离地面,此时再移动支撑架,气囊则不会与地面之间出现摩擦,提高了气囊的使用寿命。


