授权公布号:CN217841233U
一种具备防松功能的调节式锁扣
有效
申请
2022-07-28
申请公布
1970-01-01
授权
2022-11-18
预估到期
2032-07-28
| 申请号 | CN202221965227.6 |
| 申请日 | 2022-07-28 |
| 授权公布号 | CN217841233U |
| 授权公告日 | 2022-11-18 |
| 分类号 | E05B85/00 |
| 分类 | 锁;钥匙;门窗零件;保险箱; |
| 申请人名称 | 烟台三环锁业集团股份有限公司 |
| 申请人地址 | 山东省烟台市芝罘区西南河路47号 |
专利法律状态
2022-11-18
授权
状态信息
授权
摘要
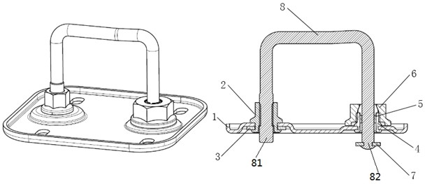
本实用新型涉及一种具备防松功能的调节式锁扣,包括底板以及安装于底板上的U型锁销,所述U型锁销分别具有与底板相连的锁销调节端和锁销自由端,其特征在于,所述锁销自由端经由螺套、卡爪套和锁紧螺母与所述底板的一安装孔相连,所述螺套外侧下端固定于一安装孔的边缘,所述螺套的外侧上端设有用以与锁紧螺母相适配的外螺纹,所述螺套的内孔与锁销自由端间隙配合,所述卡爪套的套端插嵌于所述螺套与锁销自由端的间隙内,所述卡爪套的瓣式卡爪抱箍于锁销自由端,所述锁紧螺母螺纹连接于所述螺套外部且将所述卡爪套锁压于内。本实用新型有效解决了传统调节式锁扣存在的锁销松动、晃动的问题,结构简捷紧凑,提升了产品的可靠性。


