授权公布号:CN204002017U
一种门锁
有效
申请
2014-08-07
申请公布
1970-01-01
授权
2014-12-10
预估到期
2024-08-07
| 申请号 | CN201420445324.1 |
| 申请日 | 2014-08-07 |
| 授权公布号 | CN204002017U |
| 授权公告日 | 2014-12-10 |
| 分类号 | E05B15/00;E05B17/00 |
| 分类 | 锁;钥匙;门窗零件;保险箱; |
| 申请人名称 | 中山亚萨合莱安防科技有限公司 |
| 申请人地址 | 广东省中山市小揽镇沙口菊城大道东33-35号 |
专利法律状态
2014-12-10
授权
状态信息
授权
摘要
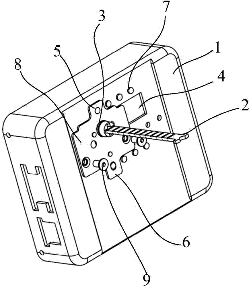
本实用新型涉及一种门锁,包括锁壳和用于开锁的传动条,该门锁还包括传动条安装板,所述传动条安装板上开设有供所述传动条穿过的安装孔,且所述锁壳上还开设有供所述传动条左右调整的长条状调整孔,以及供所述传动条安装板固定的多个安装部。传动条通过安装孔穿设在传动条安装板上,左右调整传动条,可实现传动条至锁壳边缘的距离与门体的门边距一致。可见本实用新型中所公开的门锁可以实现传动条与锁壳边框之间距离的调整,从而使得成品门锁可以适应多种不同门边距的门体,并且在门锁生产的过程中,也无需进行订做,这就有效提高了门锁的生产效率,并且降低了门锁的生产成本。


