授权公布号:CN216476791U
一种自带隐藏式拉手的锁具结构
有效
申请
2021-11-27
申请公布
1970-01-01
授权
2022-05-10
预估到期
2031-11-27
| 申请号 | CN202122961158.3 |
| 申请日 | 2021-11-27 |
| 授权公布号 | CN216476791U |
| 授权公告日 | 2022-05-10 |
| 分类号 | E05B65/08;E05B15/00;E05B5/02 |
| 分类 | 锁;钥匙;门窗零件;保险箱; |
| 申请人名称 | 春光五金有限公司 |
| 申请人地址 | 浙江省温州市平阳县万全镇冯宅村路口 |
专利法律状态
2022-05-10
授权
状态信息
授权
摘要
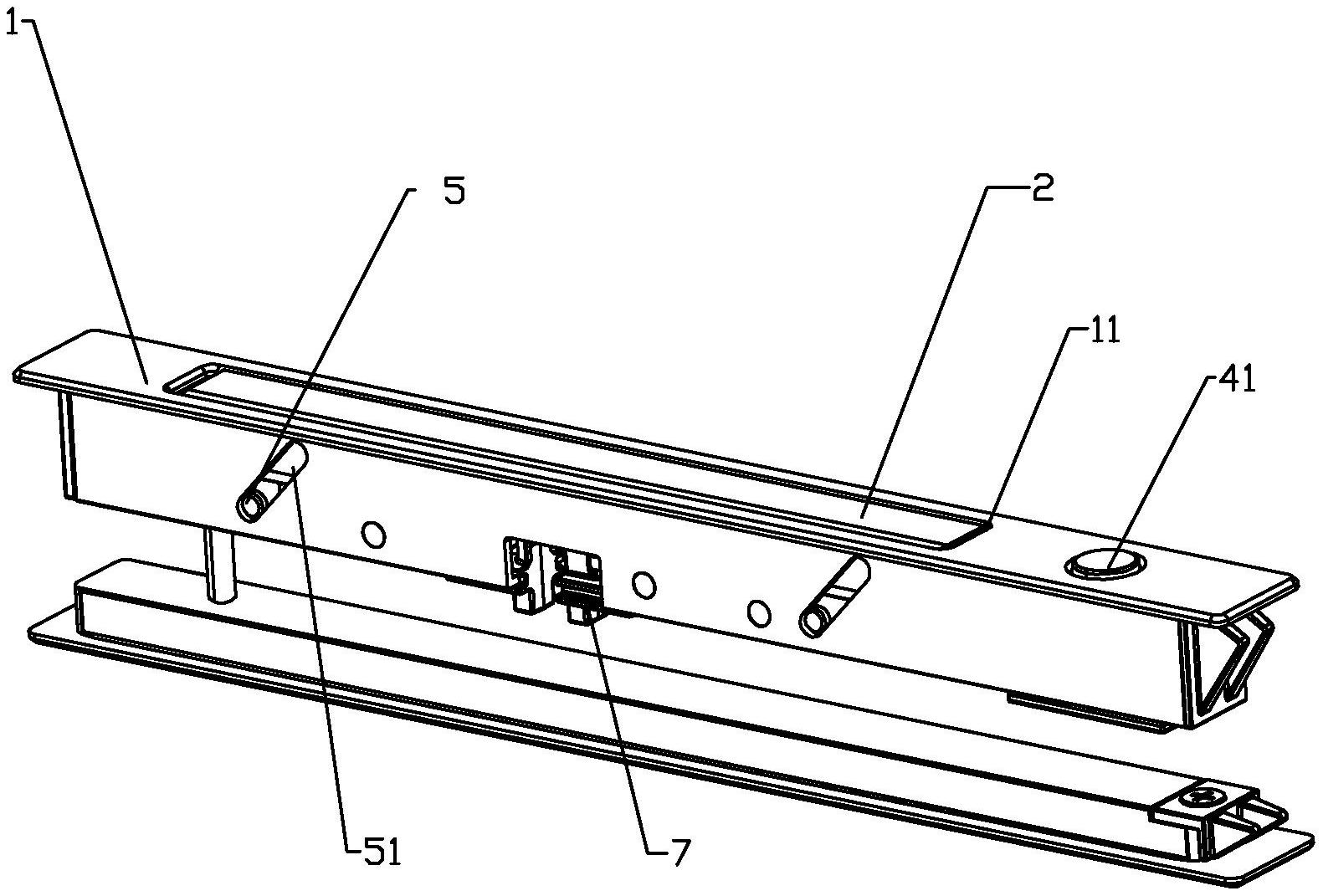
本实用新型涉及一种自带隐藏式拉手的锁具结构,包括锁体、移动板、驱动扭簧及控制板,锁体上设置有移动槽,移动板设置于移动槽上,驱动扭簧设置于锁体内并用于将移动板复位至移动槽外,控制板设置于锁体内并具有锁定状态及分离状态,锁定状态为控制板与移动板相抵,移动板无法移动至移动槽外,分离状态为控制板与移动板相离,移动板经驱动扭簧的驱动移动至移动槽外。本实用新型提供一种自带隐藏式拉手的锁具结构。


